LEMON Manuals: Even more car manuals for everyone: 1960-2025
Home >> Cadillac >> 2006 >> STS V >> Repair and Diagnosis >> Electrical >> Wiring Diagrams >> OEM Connector End Views - Keyless Entry, Automatic Level Control, Power Door Systems, Navigation System, Engine Electrical, Instrument Panel, Gages, And Console, Shift Lock Control, Sir, Automatic Transmission, Stationary Windows >> Keyless Entry Connector End Views >> Keyless Entry Antenna Connector End View - Backup
April 5, 2026: LEMON Manuals is launched! Read the announcement.

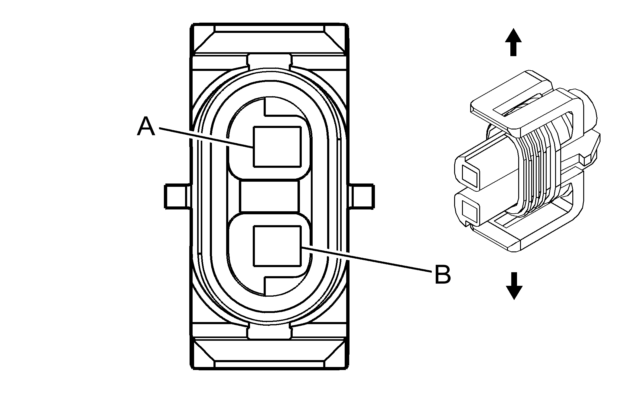
Keyless Entry Antenna Connector End View - Backup

Fig 1: Keyless Entry Antenna - Backup Connector
GM1334534Courtesy of GENERAL MOTORS CORP.
Keyless Entry Connector End Views

Connector Part Information 
  • OEM: 12162017
  • Service: 12101937
  • Description: 2-Way F Metri-Pack 150 Series Sealed (M-GY)
Terminal Part Information 
  • Terminal/Tray: 12048074/2
  • Core/Insulation Crimp: E/1
  • Release Tool/Test Probe: 12094429/J-35616-2A (GY)
Keyless Entry Antenna - Backup

Pin Wire Color Circuit No. Function
A PU 218 Keyless Entry Antenna Signal (1)
B TN 219 Keyless Entry Antenna Low Reference (1)