LEMON Manuals: Even more car manuals for everyone: 1960-2025
Home >> Cadillac >> 2006 >> STS V >> Repair and Diagnosis >> Electrical >> Wiring Diagrams >> OEM Connector End Views - Keyless Entry, Automatic Level Control, Power Door Systems, Navigation System, Engine Electrical, Instrument Panel, Gages, And Console, Shift Lock Control, Sir, Automatic Transmission, Stationary Windows >> Navigation System Connector End Views >> TV Antenna Module Connector End View (Export w/YQ6/YQ7)
April 5, 2026: LEMON Manuals is launched! Read the announcement.

TV Antenna Module Connector End View (Export w/YQ6/YQ7)

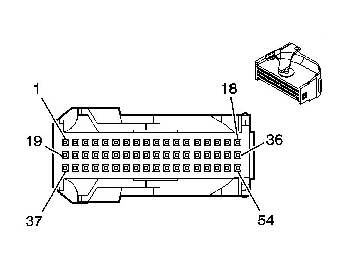
Fig 1: TV Antenna Module (Export w/YQ6/YQ7) Connector View
GM815049Courtesy of GENERAL MOTORS CORP.
Navigation System Connector End Views

Connector Part Information 
  • OEM: 1-13559282
  • Service: See Catalog
  • Description: 54-Way F AMP (BK)
Terminal Part Information 
  • Pins: 2, 5, 6, 7, 9, 13, 19, 20
  • Terminal/Tray: 1411558-2/15
  • Core/Insulation Crimp: J/J
  • Release Tool/Test Probe: 12094429/J-35616-64B (L-BU)
  • Pins: 14
  • Terminal/Tray: See Terminal Repair Kit
  • Core/Insulation Crimp: See Terminal Repair Kit
  • Release Tool/Test Probe: See Terminal Repair Kit
TV Antenna Module (Export w/YQ6/YQ7)

Pin Wire Color Circuit No. Function
1 - - Not Used
2 D-GN 5060 Low Speed GMLAN Serial Data
3-4 - - Not Used
5 L-BU/WH 5338 Right TV Audio Signal
6 GY/BK 5339 Audio Common
7 L-GN/WH 5337 Left TV Audio Signal
8 - - Not Used
9 BARE 5345 Drain Wire
10-12 - - Not Used
13 GY 5231 Video RGB Low Reference
14 BARE 1705 Drain Wire Return
15-18 - - Not Used
19 BK 850 Ground
20 RD/WH 3240 Battery Positive Voltage
21-54 - - Not Used