LEMON Manuals: Even more car manuals for everyone: 1960-2025
Home >> Cadillac >> 2006 >> STS V >> Repair and Diagnosis >> External Pages >> Different car >> Section 11 (Cellular System, Entertainment System, And Navigation System) >> Repair Instructions >> Radio Antenna Module Replacement >> Installation Procedure
April 5, 2026: LEMON Manuals is launched! Read the announcement.

Installation Procedure

WARNING: This page is about a different car, the 2007 Cadillac CTS. However, it is still accessible from the selected car via links, so may be relevant.
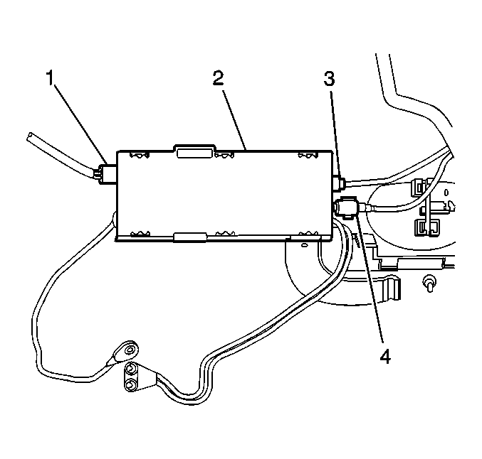
    Fig 1: Removing & Installing Antennae Module
    GM708271Courtesy of GENERAL MOTORS CORP.
  1. Install the diversity antenna module (2) on to the mounting bracket.
  2. Connect all the electrical connectors (1, 3, 4).
  3. Install the rear roof mounted dome lamp. Refer to Dome Lamp Replacement .
  4. Install the rear assist handles. Refer to Assist Handle Replacement .
  5. Install the rear sail panels. Refer to Sail Panel Replacement .
  6. Refer to Control Module References for programming and setup information.