LEMON Manuals: Even more car manuals for everyone: 1960-2025
Home >> Cadillac >> 2006 >> STS V >> Repair and Diagnosis >> External Pages >> Different car >> Section 17 (Data Communication System) >> Component Locator >> Data Communication Connector End Views >> Dash Integration Module (DIM) C1
April 5, 2026: LEMON Manuals is launched! Read the announcement.

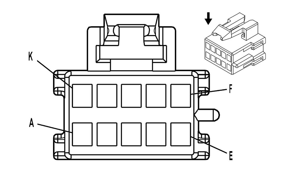
Dash Integration Module (DIM) C1

WARNING: This page is about a different car, the 2007 Cadillac CTS. However, it is still accessible from the selected car via links, so may be relevant.
Fig 1: Dash Integration Module (DIM) C1 Connector End Views
GM803688Courtesy of GENERAL MOTORS CORP.
Dash Integration Module (DIM) C1 Connector & Terminal Parts Information

Connector Part Information 
  • OEM: 12064871
  • Service: 12101832
  • Description: 10-Way F Metri-Pack 150 Series (BU)
Terminal Part Information 
  • Pins: E, G, H, K
  • Terminal/Tray: 12064971/5
  • Core/Insulation Crimp: E/C
  • Release Tool/Test Probe: 12094429/J-35616-2A (GY)
Dash Integration Module (DIM) C1 Terminal Identification

Pin Wire Color Circuit No. Function
A-D - - Not Used
E BK/WH 351 Ground
F - - Not Used
G RD/WH 1140 Battery Positive Voltage
H YE 32 Instrument Panel Lamp Fuse Supply Voltage-1
J - - Not Used
K YE 1491 Backlight Lamps Control