LEMON Manuals: Even more car manuals for everyone: 1960-2025
Home >> Cadillac >> 2006 >> STS V >> Repair and Diagnosis >> External Pages >> Different car >> Section 17 (Data Communication System) >> Component Locator >> Data Communication Connector End Views >> Rear Integration Module (RIM) C1
April 5, 2026: LEMON Manuals is launched! Read the announcement.

Rear Integration Module (RIM) C1

WARNING: This page is about a different car, the 2007 Cadillac CTS. However, it is still accessible from the selected car via links, so may be relevant.
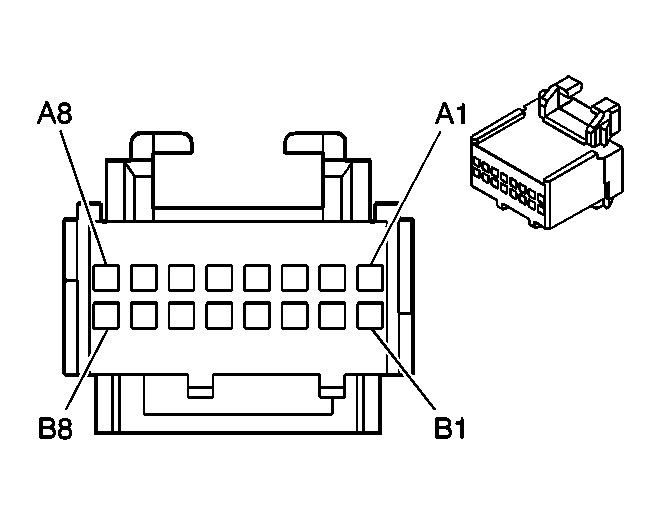
Fig 1: Rear Integration Module (RIM) C1 Connector End Views
GM356307Courtesy of GENERAL MOTORS CORP.
Rear Integration Module (RIM) C1 Connector & Terminal Parts Information

Connector Part Information 
  • OEM: 12092632
  • Service: 88988811
  • Description: 16-Way F Micro-Pack 100 Series (RD)
Terminal Part Information 
  • Pins: B5
  • Terminal/Tray: 12146448/19
  • Core/Insulation Crimp: See Terminal Repair Kit
  • Release Tool/Test Probe: 12031876-1/J-35616-6 (BN)
  • Pins: B5
  • Terminal/Tray: See Terminal Repair Kit
  • Core/Insulation Crimp: See Terminal Repair Kit
  • Release Tool/Test Probe: See Terminal Repair Kit
  • Pins: A1, A2, A3, A4, A5, A6, A7, A8, B1, B2, B3, B5, B8
  • Terminal/Tray: 12146447/3
  • Core/Insulation Crimp: E/C
  • Release Tool/Test Probe: 12031876-1/J-35616-6 (BN)
Rear Integration Module (RIM) C1 Terminal Identification

Pin Wire Color Circuit No. Function
A1 L-BU 5362 Inclination Sensor Signal (Export w/UA2)
A2 BN/WH 1571 Traction Control Switch Signal
A3 D-BU 2181 Passenger Heated Seat Control Module Status Signal (KA1)
A4 PK 1339 Ignition 1 Voltage
A5 D-BU/WH 149 Courtesy Lamp Supply Voltage
A6 WH 111 Theft Deterrent Alarm Enable Signal (Export w/UA2)
A7 L-BU/WH 181 Heated Seat Control Module Status Signal (KA1)
A8 BK/WH 1051 Ground
B1 PU 5059 Intrusion Sensor Alarm On Signal (Export w/UA2/UA6)
B2 GY 5054 Sport Mode Switch Signal (M82)
B3 OG/BK 744 Rear Compartment Lid Ajar Switch Signal
B4 - - Not Used
B5 L-GN 5007 Backup Lamp Switch Signal (MV1)
L-GN 5053 Winter Mode Switch Signal (M82)
B6-B7 - - Not Used
B8 BK/WH 1051 Ground