LEMON Manuals: Even more car manuals for everyone: 1960-2025
Home >> Cadillac >> 2006 >> STS V >> Repair and Diagnosis >> Quick Lookups >> Wiring Diagrams >> OEM Connector End Views - Keyless Entry, Automatic Level Control, Power Door Systems, Navigation System, Engine Electrical, Instrument Panel, Gages, And Console, Shift Lock Control, Sir, Automatic Transmission, Stationary Windows >> SIR Connector End Views >> Inflatable Restraint Front End Sensor Connector End View - Left
April 5, 2026: LEMON Manuals is launched! Read the announcement.

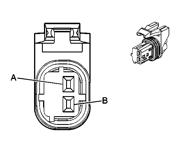
Inflatable Restraint Front End Sensor Connector End View - Left

Fig 1: Inflatable Restraint Front End Sensor - Left Connector View
GM744055Courtesy of GENERAL MOTORS CORP.
SIR Connector End Views

Connector Part Information 
  • OEM: 15356722
  • Service: 15306405
  • Description: 2-Way F GT 150 Series Sealed 4.0 (YE)
Terminal Part Information 
  • Terminal/Tray: Service with Pigtail
  • Core/Insulation Crimp: N/A
  • Release Tool/Test Probe: 15315247/J-35616-2A (GY)
Inflatable Restraint Front End Sensor - Left

Pin Wire Color Circuit No. Function
A TN/OG 5045 Left Front Discriminating Sensor Low Reference
B YE 1834 SIR Forward Sensor Signal