LEMON Manuals: Even more car manuals for everyone: 1960-2025
Home >> Cadillac >> 2006 >> XLR Base >> Repair and Diagnosis (Single Page) >> Quick Lookups >> Wiring Diagrams >> OEM Connector End Views >> Connector End Views >> Engine Control Module (ECM) - C2 (4.4L) - Connector End View
April 5, 2026: LEMON Manuals is launched! Read the announcement.

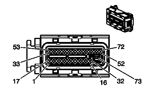
Engine Control Module (ECM) - C2 (4.4L) - Connector End View

Fig 1: Engine Control Module (ECM) - C2 Connector View
GM1391794Courtesy of GENERAL MOTORS CORP.
Engine Control Module Connector End Views

Connector Part Information 
  • OEM: 34566-0103
  • Service: 88988903
  • Description: 73-Way F Micro-Pack GT 64 (BK)
Terminal Part Information 
  • Pins: 73
  • Terminal/Tray: 7116-4152-02/9
  • Core/Insulation Crimp: 2/5
  • Release Tool/Test Probe: 12094430/J-35616-35 (VT)
  • Pins: 13, 28, 45, 65
  • Terminal/Tray: 33467-0003/23
  • Core/Insulation Crimp: H/H
  • Release Tool/Test Probe: J-38125-213/J-35616-64B (L-BU)
  • Pins: 1, 2, 3, 4, 5, 6, 7, 8, 9, 14, 15, 16, 17, 18, 19, 20, 21, 22, 23, 24, 25, 27, 29, 30, 31, 32, 33, 34, 35, 36, 37, 38, 39, 40, 41, 42, 43, 44, 46, 47, 48, 49, 50, 51, 52, 53, 54, 55, 56, 57, 58, 59, 60, 62, 63, 64, 66, 67, 68, 69, 70, 71, 72, 11, 12
  • Terminal/Tray: 33467-0005/23
  • Core/Insulation Crimp: Pins 1, 2, 3, 4, 5, 6, 7, 8, 9, 14, 15, 16, 17, 18, 19, 20, 21, 22, 23, 24, 25, 27, 29, 30, 31, 32, 33, 34, 35, 36, 37, 38, 39, 40, 41, 42, 43, 44, 46, 47, 48, 49, 50, 51, 52, 53, 54, 55, 56, 57, 58, 59, 60, 62, 63, 64, 66, 67, 68, 69, 70, 71, 72 - J/J
  • Core/Insulation Crimp: Pins 11, 12 - K/K
  • Release Tool/Test Probe: J-38125-213/J-35616-64B (L-BU)
Engine Control Module (ECM) - C2

Pin Wire Color Circuit No. Function
1 PU 2121 IC1 Control
2 TN/WH 3111 H02S Low Reference (Bank 1 Sensor 1)
3 PU/WH 3110 Reference Voltage (Bank 1 Sensor 1)
4 PU 3120 H02S High Signal (Bank 1 Sensor 2)
5 TN/WH 3121 H02S Low Signal (Bank 1 Sensor 2)
6 L-BU 1876 Knock Sensor 2 Signal
7 GY 2303 Low Reference
8 D-BU 496 Knock Sensor (1) Signal
9 GY 1716 Low Reference
10 - - Not Used
11 YE 581 TAC Motor Control - 1
12 BN 582 TAC Motor Control - 2
13 PK 439 Ignition 1 Voltage
14 PK/BK 6395 CAM Phase #2 Control
15 TN/BK 6397 CAM Phase #4 Control
16 D-BU/WH 878 Fuel Inspector #8 Control
17 OG/WH 2122 IC2 Control
18 L-BU/WH 2126 IC6 Control
19 BN/WH 2130 Low Reference
20 PU 6267 Camshaft CAM X Ground
21 TN 6268 Camshaft CAM Y Ground
22 WH 6269 Camshaft CAM Z Ground
23 BN 6266 Camshaft CAM W Ground
24 BK 2755 Oil Pressure Sensor Low Reference
25 D-GN 7125 Super Charger Inlet Air Pressure Sensor Return
26 - - Not Used
27 GY/BK 6272 Crankshaft 60 X Sensor Low Reference
28 PK 439 Ignition 1 Voltage
29 TN 2752 Low Reference
30 BN/WH 6754 CAM Phase X Return Low Reference
31 D-BU/WH 6756 CAM Phase Z Return Low Reference
32 PK/BK 1746 Fuel Injector 3 Control
33 OG 2127 IC7 Control
34 D-GN 2125 IC5 Control
35 BN 2129 Low Reference
36 D-GN 6457 Camshaft CAM X Supply Voltage
37 OG 6260 Camshaft CAM Y Supply Voltage
38 PK 6261 Camshaft CAM Z Supply Voltage
39 D-BU 6259 Camshaft CAM W Supply Voltage
40 GY 2705 5-Volt Reference
41 YE/BK 7124 Super Charger Inlet Air Pressure Sensor Supply Voltage 5V
42 TN 2760 Low Reference
43 PU/WH 6270 Crankshaft Box Sensor Voltage
44 GY 2701 5-Volt Reference
45 BN 6273 Low Reference
46 BN 6753 Low Reference
47 D-BU 6755 Low Reference
48 L-GN/BK 1745 Fuel Injector 2 Control
49 TN/WH 845 Fuel Injector 5 Control
50 WH/BK 6396 CAM Phase #3 Control
51 GY/BK 6394 CAM Phase Control
52 L-BU/BK 844 Fuel Injector 4 Control
53 L-BU 2123 IC3 Control
54 D-GN/WH 2124 IC4 Control
55 PU/WH 2128 IC8 Control
56 D-GN/WH 6264 Camshaft CAM X Signal
57 OG/BK 6263 Camshaft CAM Y Signal
58 PK/BK 6262 Camshaft CAM Z Signal
59 D-BU/WH 6265 Camshaft CAM W Signal
60 TN/WH 331 Oil Pressure Sensor Signal
61 - - Not Used
62 TN/BK 472 IAT Sensor Signal
63 WH/BK 6271 Crankshaft 60 X Sensor Signal
64 D-GN 485 TP Sensor 1 Signal
65 D-GN/WH 357 Blower Motor High Control
66 PU 486 TP Sensor 2 Signal
67 YE 492 MAF Sensor Signal
68 GY/WH 3113 H02S Heater Low Control (Bank 1 Sensor 1)
69 GY/WH 3122 H02S Heater Low Control (Bank 2 Sensor 1)
70 YE/BK 846 Fuel Injector 6 Control
71 OG/BK 877 Fuel Injector 7 Control
72 TN 1744 Fuel Injector 1 Control
73 BK/WH 451 Ground