LEMON Manuals: Even more car manuals for everyone: 1960-2025
Home >> Cadillac >> 2007 >> CTS Base, 2.8 T, Automatic >> Repair and Diagnosis >> External Pages >> Different car >> Section 256 (Antilock Brake System, Traction Control System & Stability Control System) >> Repair Instructions >> Yaw Rate Sensor/Lateral Accelerometer Replacement >> Installation Procedure
April 5, 2026: LEMON Manuals is launched! Read the announcement.

Installation Procedure

WARNING: This page is about a different car, the 2007 Cadillac STS. However, it is still accessible from the selected car via links, so may be relevant.
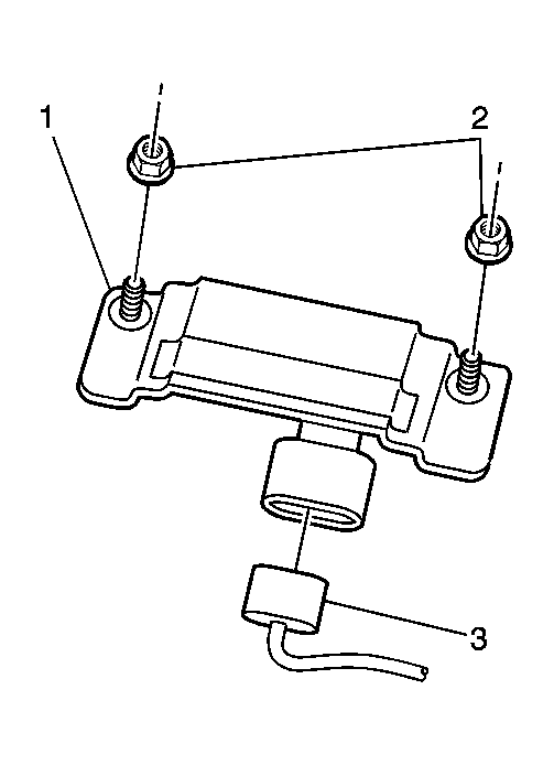
    Fig 1: View Of Yaw Rate Sensor/Lateral Accelerometer & Mounting Nuts
    GM899225Courtesy of GENERAL MOTORS CORP.
  1. Install the yaw rate sensor/lateral accelerometer (1).
  2. NOTE: Refer to Fastener Notice in Cautions and Notices.
  3. Install the 2 yaw rate sensor/lateral accelerometer nuts (2).

    Tighten:  Tighten the yaw rate sensor/lateral accelerometer mounting nuts to 9 N.m (80 lb in).

  4. Fig 2: View Of Yaw Rate Sensor/Lateral Accelerometer & Electrical Connector
    GM899221Courtesy of GENERAL MOTORS CORP.
  5. Connect the yaw rate sensor/lateral accelerometer electrical connector (2) to the yaw rate sensor/lateral accelerometer (1).
  6. Reprogram the new yaw rate/lateral accelerometer. Refer to Control Module References .
  7. Perform the System Check-Vehicle. Refer to Diagnostic System Check - Vehicle in Vehicle DTC Information.