LEMON Manuals: Even more car manuals for everyone: 1960-2025
Home >> Cadillac >> 2007 >> CTS V >> Repair and Diagnosis >> External Pages >> Different car >> Section 403 (Cellular System, Entertainment System, And Navigation System) >> Component Locator >> Entertainment/Communication Component Views
April 5, 2026: LEMON Manuals is launched! Read the announcement.

Entertainment/Communication Component Views

WARNING: This page is about a different car, the 2007 Chevrolet Corvette. However, it is still accessible from the selected car via links, so may be relevant.
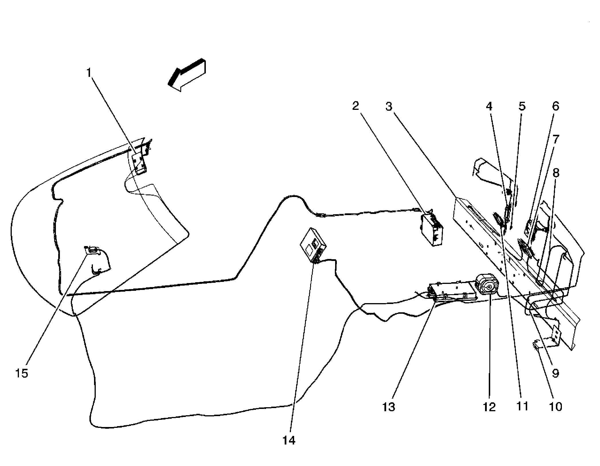
Fig 1: Antennas and Antenna Modules
GM1698017Courtesy of GENERAL MOTORS CORP.
Callout Component Name
1 Cellular and Navigational Antenna
2 Vehicle Communication Interface Module (VCIM)
3 Radio Antenna Module-Case Ground
4 Radio Antenna Module-Right (Convertible)
5 Radio Antenna Module-Case Ground
6 Vehicle Communication Interface Module (VCIM)
7 Radio Antenna Module-Left (Coupe)
8 Loop Antenna (Convertible)
9 Loop Antenna (Coupe)
10 Loop Antenna Ground
11 Radio Antenna Module-Right (Coupe)
12 Theft Deterrent Alarm Siren (UA2)
13 Digital Radio Receiver (Coupe)
14 Digital Radio Receiver (Convertible)
15 Global Positioning System (GPS) Antenna
Fig 2: Cellular Communication Components
GM1499377Courtesy of GENERAL MOTORS CORP.
Callout Component Name
1 Vehicle Communication Interface Module (VCIM) (UE1)/Traffic Information Receiver (UZD/U3Z)
2 Cellular Microphone
3 Inside Rearview Mirror
4 Cellular and Navigational Antenna (UE1)
5 Radio
Fig 3: Entertainment Components
GM1491971Courtesy of GENERAL MOTORS CORP.
Callout Component Name
1 Speaker-Center
2 Radio
3 Cellular Microphone
4 Speaker-RF Door Subwoofer
5 Speaker-RF Door Midrange
6 Audio Amplifier
7 Speaker-RR Midrange
8 Vehicle Communication Interface Module (VCIM) (Y07 w/UE1)
9 Digital Radio Receiver (Y07 w/U2K)
10 Speaker-LR Midrange
11 Speaker-LF Door Subwoofer
12 Speaker-LF Door Midrange
13 Mobile Telephone Microphone