LEMON Manuals: Even more car manuals for everyone: 1960-2025
Home >> Cadillac >> 2007 >> CTS V6-2.8L >> Repair and Diagnosis >> Starting and Charging >> Starting System >> Ignition Switch >> Service and Repair
April 5, 2026: LEMON Manuals is launched! Read the announcement.

Ignition Switch: Service and Repair



Ignition and Start Switch Replacement

Tools Required

J 42759 Ignition Switch Connector Release Tool

Removal Procedure




Caution: Refer to SIR Caution.

1. Disable the SIR system. Refer to SIR Disabling and Enabling.
2. Remove the theft deterrent control module.
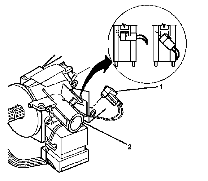
3. Rotate the key alarm connector (1) 90 degrees.
4. Gently pull the key alarm connector (1) out of the ignition lock cylinder case assembly (2).




5. Disconnect the connector from the ignition switch assembly.
6. Remove the wires encased in the ignition switch clip (located on the side of the ignition switch).
7. Remove the ignition switch assembly (2) using J 42759.

Installation Procedure




1. Insert J 42759 into the ignition lock cylinder case assembly (1) and slide the ignition switch assembly (2) in.
2. Connect the connector to the ignition switch assembly (2).




Caution: Refer to SIR Inflator Module Coil Caution.

3. Push the key alarm connector (1) into the ignition lock cylinder case assembly (2).
4. Rotate the key alarm connector (1) 90 degrees so that the key alarm connector (1) locks into place.
5. Install the wires back into the ignition switch clip.
6. Install the theft deterrent control module. Refer to Theft Deterrent Module Replacement.
7. Enable the SIR system. Refer to SIR Disabling and Enabling.