LEMON Manuals: Even more car manuals for everyone: 1960-2025
Home >> Cadillac >> 2007 >> DTS 4.6 9 >> Repair and Diagnosis (Single Page) >> Accessories & Equipment >> Communication Devices >> Data Communication System >> Component Locator >> Data Communication Component Views
April 5, 2026: LEMON Manuals is launched! Read the announcement.

Data Communication Component Views

Fig 1: Behind I/P Component Views
GM1657295Courtesy of GENERAL MOTORS CORP.
Callout Component Name
1 Body Control Module (BCM)
2 I/P Trim
3 I/P Compartment Assembly
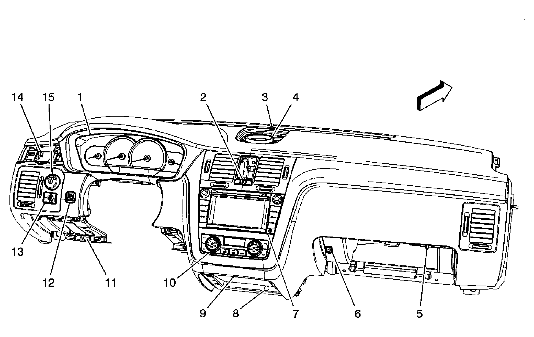
Fig 2: I/P Component Views
GM1657309Courtesy of GENERAL MOTORS CORP.
Callout Component Name
1 Instrument Panel Cluster (IPC)
2 Hazard Switch
3 Sunload Twilight System
4 Speaker - Front Center (U57)
5 I/P Compartment Switch/Lamp
6 Valet Switch
7 Radio/Navigation Unit (U3Q)
8 Auxilary Power Outlet (AV8-DT4), Cigar Lighter (AV8+DT4)
9 Ashtray Lamp
10 HVAC Control Module
11 Data Link Connector (DLC)
12 Air Temperature Sensor - Inside
13 Rear Compartment Lid Release Switch
14 Driver Information Center (DIC) Switch
15 Headlamp Switch