LEMON Manuals: Even more car manuals for everyone: 1960-2025
Home >> Cadillac >> 2007 >> DTS 4.6 9 >> Repair and Diagnosis >> Engine Performance >> System >> Engine Control System & Fuel System - 4.6L - Introduction (2 Of 2) >> Component Locator >> Engine Controls Connector End Views >> Secondary Air Injection (AIR) Pump
April 5, 2026: LEMON Manuals is launched! Read the announcement.

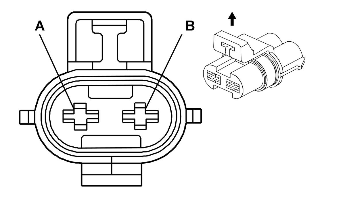
Secondary Air Injection (AIR) Pump

Fig 1: Secondary Air Injection (AIR) Pump Connector End View
GM1664608Courtesy of GENERAL MOTORS CORP.
Secondary Air Injection (AIR) Pump Connector & Terminal Parts Information

Connector Part Information 
  • OEM: 12147067
  • Service: 89046640
  • Description: 2-Way F (BK)
Terminal Part Information 
  • Terminal/Tray: 12147474/24
  • Core/Insulation Crimp: G/F/3
  • Release Tool/Test Probe: 12094430/J-35616-42 (RD)
Secondary Air Injection (AIR) Pump Terminal Identification

Pin Wire Color Circuit No. Function
A OG 78 AIR Pump Supply Voltage
B BK 1150 Ground