LEMON Manuals: Even more car manuals for everyone: 1960-2025
Home >> Cadillac >> 2007 >> DTS V8-4.6L >> Repair and Diagnosis >> Diagrams >> Connector Views >> Seat Temperature Control Module
April 5, 2026: LEMON Manuals is launched! Read the announcement.

Seat Temperature Control Module



Heated/Cooled Seat Connector End Views

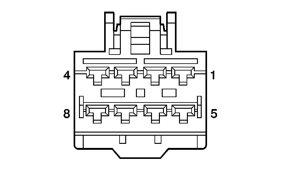
Climate Control Seat Module - Front C1 (KB6)














Climate Control Seat Module - Front C2 (KB6)














Climate Control Seat Module - Front C3 (KB6)














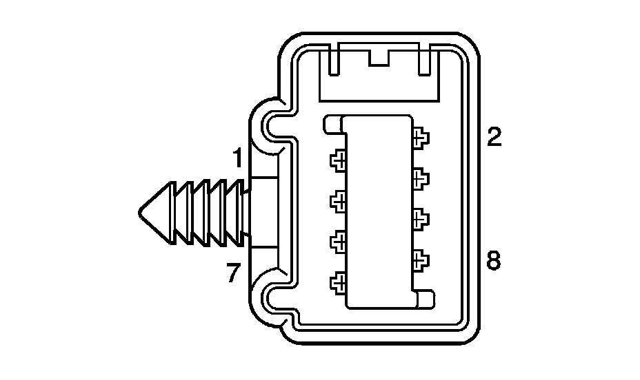
Heated Seat Module - Rear C1 (KA6)














Heated Seat Module - Rear C2 (KA6)














Heated Seat Module - Rear C3 (KA6)














Heated Seat Module - Rear C4 (KA6)














Seat Back Ventilation Heat & Cool Module - Driver (KB6)














Seat Back Ventilation Heat & Cool Module - Front Passenger (KB6)














Seat Cushion Ventilation Heat and Cool Module - Driver (KB6)














Seat Cushion Ventilation Heat & Cool Module - Front Passenger (KB6)