LEMON Manuals: Even more car manuals for everyone: 1960-2025
Home >> Cadillac >> 2007 >> Escalade AWD V8-6.2L >> Repair and Diagnosis >> Heating and Air Conditioning >> Control Assembly >> Service and Repair >> HVAC System - Automatic >> Auxiliary Heater and Air Conditioning Control Module Replacement
April 5, 2026: LEMON Manuals is launched! Read the announcement.

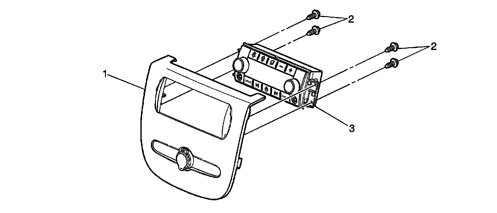
Auxiliary Heater and Air Conditioning Control Module Replacement



AUXILIARY HEATER AND AIR CONDITIONING CONTROL MODULE REPLACEMENT