LEMON Manuals: Even more car manuals for everyone: 1960-2025
Home >> Cadillac >> 2007 >> Escalade EXT >> Repair and Diagnosis (Single Page) >> Accessories & Equipment >> Entertainment Systems >> Cellular System, Entertainment System, And Navigation System >> Component Locator >> Entertainment/Communication Component Views
April 5, 2026: LEMON Manuals is launched! Read the announcement.

Entertainment/Communication Component Views

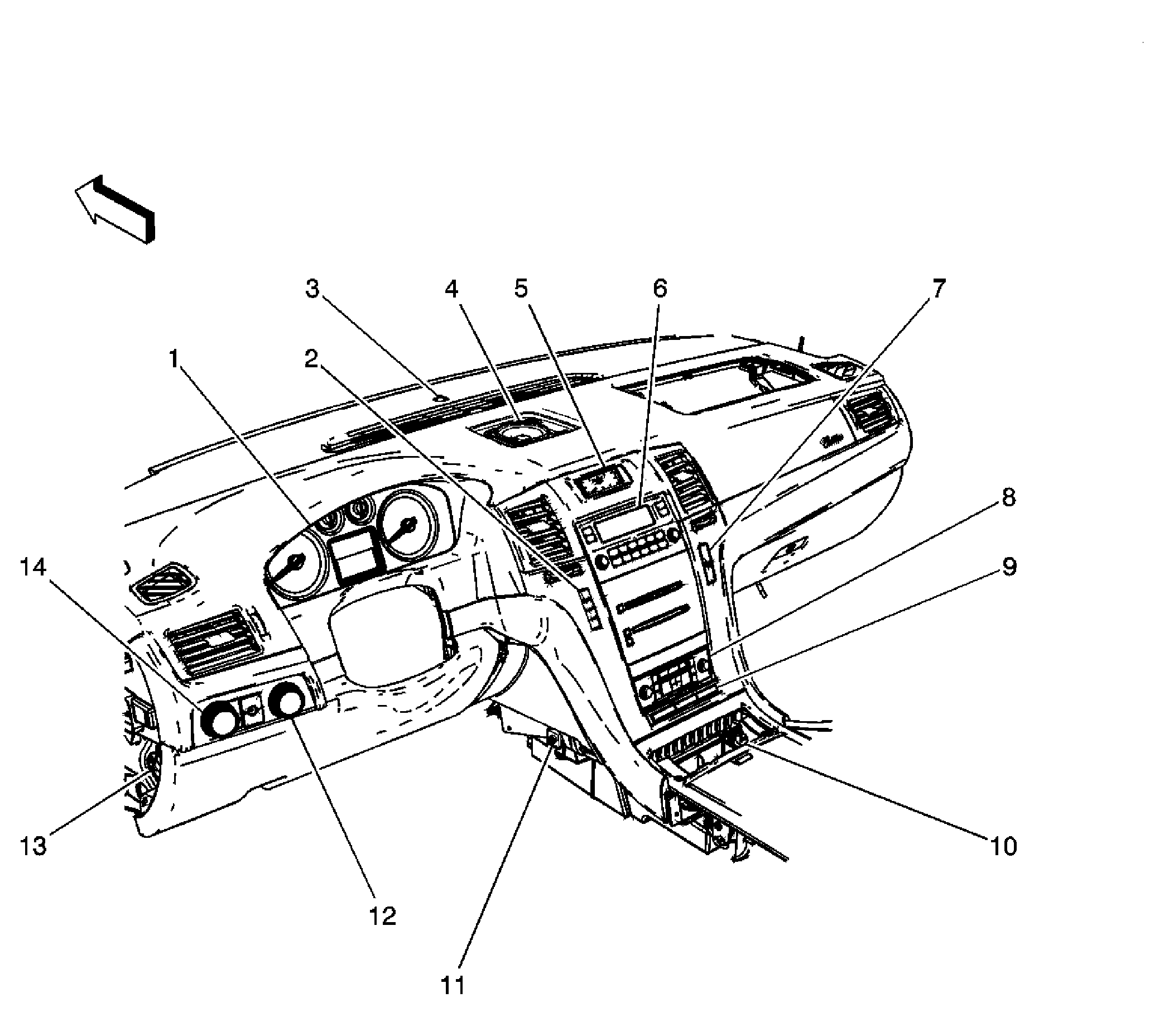
Fig 1: Front of the I/P (Except Z75)
GM1714203Courtesy of GENERAL MOTORS CORP.
Callout Component Name
1 Turn Signal Multifunction Switch
2 Inflatable Restraint Steering Wheel Module Coil
3 Instrument Panel Cluster (IPC)
4 Tow/Haul Switch
5 Driver Information Center (DIC) Switch
6 Ambient Light/Sunload Sensor Assembly (CJ2) or Ambient Light Sensor (CJ3)
7 HVAC Control Module
8 Auxiliary Power Outlet - Front 2
9 I/P Multifunction Switch Assembly
10 Auxiliary Power Outlet - Front 1
11 Radio
12 Transfer Case Shift Control Switch
13 Headlamp and Panel Dimmer Switch
Fig 2: Front of the I/P (Z75)
GM1732568Courtesy of GENERAL MOTORS CORP.
Callout Component Name
1 Instrument Panel Cluster (IPC)
2 Driver Information Center (DIC) Switch
3 Ambient Light/Sunload Sensor Assembly (CJ2)
4 Speaker - Center
5 Analog Clock
6 Radio
7 Traction Control / Rear Object Detection Switch
8 HVAC Control Module
9 I/P Multifunction Switch Assembly
10 Auxiliary Power Outlet - Front 1
11 Noise Compensation Microphone (Y91)
12 Transfer Case Shift Control Switch
13 Fuse Block - I/P
14 Headlamp and Panel Dimmer Switch
Fig 3: Behind the I/P
GM1732559Courtesy of GENERAL MOTORS CORP.
Callout Component Name
1 I/P Trim
2 Fuse Block - I/P
3 Body Control Module (BCM)
4 Speaker - Subwoofer (UQA)
5 Vehicle Communication Interface Module (VCIM) (UE1)
6 Digital Radio Receiver (U2K)
Fig 4: Top of the I/P
GM1739425Courtesy of GENERAL MOTORS CORP.
Callout Component Name
1 I/P Trim
2 Navigation Antenna Module
Fig 5: Top Front of the Passenger Compartment
GM1714227Courtesy of GENERAL MOTORS CORP.
Callout Component Name
1 Sunroof Switch (CF5)
2 Courtesy/Reading Lamps - Second Row
3 Power Liftgate Switch (E61)
4 Folding Seat Switch - Front (ARS)
5 Garage Door Opener (UG1)
6 Onstar Button Assembly (UE1)
7 Inside Rearview Mirror (ISRVM)
8 Inflatable Restraint Passenger Air Bag ON/OFF Indicator
9 Courtesy/Reading Lamp - Front
10 Inside Air Temperature Sensor - Front (CJ2)
Fig 6: Above the Driver Door
GM1739414Courtesy of GENERAL MOTORS CORP.
Callout Component Name
1 Windshield
2 Cellular / Navigation / and Digital Radio Antenna (U2K)
Fig 7: Driver Door
GM1714202Courtesy of GENERAL MOTORS CORP.
Callout Component Name
1 Door Frame
2 Outside Rearview Mirror - Driver
3 Memory/Heated Seat Switch (AN3 Except KB6) / Memory Seat Switch (KB6)
4 Driver Door Switch (DDS)
5 Speaker - LF Door
6 Window Motor - Driver
7 Inflatable Restraint Side Impact Sensor (SIS) - LF (ASF)
8 Door Latch Assembly - Driver
Fig 8: Passenger Door
GM1714232Courtesy of GENERAL MOTORS CORP.
Callout Component Name
1 Outside Rearview Mirror - Passenger
2 Passenger Door Switch (PDS)
3 Door Latch Assembly - Passenger
4 Inflatable Restraint Side Impact Sensor (SIS) - RF (ASF)
5 Speaker - RF Door
6 Window Motor - Passenger
7 Heated Seat Switch (KA6)
Fig 9: RR Door
GM1714215Courtesy of GENERAL MOTORS CORP.
Callout Component Name
1 Window Switch - RR
2 Door Frame
3 Inflatable Restraint Side Impact Sensor (SIS) - RR (ASF)
4 Speaker - RR Door
5 Window Motor - RR
Fig 10: LR Door
GM1732576Courtesy of GENERAL MOTORS CORP.
Callout Component Name
1 Door Frame
2 Window Motor - LR
3 Window Switch - LR
4 Speaker - LR Door
5 Inflatable Restraint Side Impact Sensor (SIS) - LR (ASF)
6 Door Latch Assembly - LR
Fig 11: LR of the Passenger Compartment
GM1714230Courtesy of GENERAL MOTORS CORP.
Callout Component Name
1 Liftgate Trim
2 Speaker - Left D-Pillar
3 LR Compartment Trim
Fig 12: RR of the Passenger Compartment (E52)
GM1714229Courtesy of GENERAL MOTORS CORP.
Callout Component Name
1 Information Center Telltale Assembly (UD7)
2 Speaker - Right D-Pillar
3 Auxiliary Power Outlet (APO) - Rear
Fig 13: Near the RR Window
GM1739420Courtesy of GENERAL MOTORS CORP.
Callout Component Name
1 Rear Window Antenna
2 RR Window
3 RR Door Panel