LEMON Manuals: Even more car manuals for everyone: 1960-2025
Home >> Cadillac >> 2007 >> Escalade EXT >> Repair and Diagnosis (Single Page) >> Brakes >> Antilock Brake System, Traction Control System & Stability Control System >> Repair Instructions >> Electronic Brake Control Module Replacement (W/O JL4) >> Installation Procedure
April 5, 2026: LEMON Manuals is launched! Read the announcement.

Installation Procedure

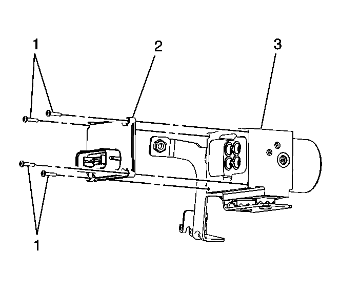
    Fig 1: View Of EBCM, BPMV & Screws
    GM1702896Courtesy of GENERAL MOTORS CORP.
  1. Position the EBCM (2) to the BPMV (3).
  2. NOTE: Refer to Fastener Notice .
  3. Install 4 new EBCM to BPMV screws (1).

    Tighten:  Tighten the screws in an X pattern to 3 N.m (27 lb in).

  4. Connect the EBCM electrical connector.
  5. If installing a replacement EBCM, program the replacement EBCM. Refer to Control Module References .
  6. Bleed the BPMV. Refer to Antilock Brake System Automated Bleed Procedure (W/JL4)  or Antilock Brake System Automated Bleed Procedure (W/O JL4) .