LEMON Manuals: Even more car manuals for everyone: 1960-2025
Home >> Cadillac >> 2007 >> Escalade EXT >> Repair and Diagnosis >> Body & Frame >> Ignition Switch/Steering Lock >> Wiring Systems And Power Management - Introduction >> Repair Instructions >> Ignition and Start Switch Replacement >> Installation Procedure
April 5, 2026: LEMON Manuals is launched! Read the announcement.

Installation Procedure

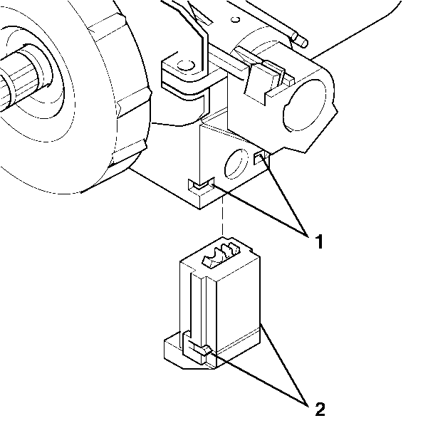
    Fig 1: Aligning Gear In The Ignition Switch
    GM1413832Courtesy of GENERAL MOTORS CORP.
    IMPORTANT: The gears between the ignition switch and the ignition lock cylinder case must be in the correct position. Failure to do so will cause a misalignment of the gears in the ignition switch and the ignition lock cylinder case, which may result in a NO START or BATTERY DRAIN.
  1. Verify the alignment of the gear (1) in the ignition switch (2). If gear (1) is not in position shown, turn gear in ignition switch (2) until you reach the correct position.
  2. Fig 2: Using Screwdriver To Rotate The Lock Cylinder Housing Gear
    GM1413833Courtesy of GENERAL MOTORS CORP.
    IMPORTANT: In order to reach a stop while rotating the ignition lock cylinder case gear you MUST push and hold in the solenoid on the electric park lock.
  3. Use a screwdriver to rotate the ignition lock cylinder case gear counterclockwise until it hits a stop.
  4. Connect the connector to the ignition switch.
  5. Fig 3: View Of Ignition Switch & Lock Cylinder Housing
    GM1413834Courtesy of GENERAL MOTORS CORP.
  6. Insert the ignition switch into the ignition lock cylinder case. The tabs (2) on the ignition switch MUST be seated inside the ignition lock cylinder case (1) for proper installation.
  7. Fig 4: Using Screwdriver To Rotate Lock Cylinder Housing Gear
    GM1413835Courtesy of GENERAL MOTORS CORP.
  8. Use a screwdriver to rotate the ignition lock cylinder case gear clockwise to the START position - allowing it to spring return into the RUN position.
  9. Install the theft deterrent control module. Refer to Theft Deterrent Module Replacement .
  10. Connect the passlock and key buzzer to the ignition lock cylinder case.
  11. Install the steering column trim covers. Refer to Steering Column Trim Covers Replacement .
  12. Install the hush and knee bolster. Refer to Knee Bolster Replacement (Cadillac) or Knee Bolster Replacement (Except Cadillac) .
  13. Enable the SIR system. Refer to SIR Disabling and Enabling .
  14. Connect the negative battery cable. Refer to Battery Negative Cable Disconnection and Connection .