LEMON Manuals: Even more car manuals for everyone: 1960-2025
Home >> Cadillac >> 2007 >> Escalade EXT >> Repair and Diagnosis >> Body & Frame >> Ignition Switch/Steering Lock >> Wiring Systems And Power Management - Introduction >> Schematic and Routing Diagrams >> Harness Routing Views
April 5, 2026: LEMON Manuals is launched! Read the announcement.

Harness Routing Views

Fig 1: Front Fascia Harnesses (X88)
GM1695174Courtesy of GENERAL MOTORS CORP.
Callout Component Name
1 Fuse Block - Underhood
2 C103
3 C100
4 Grill
5 C106
6 C105 (T96)
7 G101
8 S101
9 G100
10 S100
11 C102 (T96)
Fig 2: Front Fascia Harnesses (Z75)
GM1695169Courtesy of GENERAL MOTORS CORP.
Callout Component Name
1 Fuse Block - Underhood
2 C100
3 Grill
4 C104 (T96)
5 C106
6 S103
7 G101
8 S101
9 Headlamp Washer Relay (TR2)
10 G100
11 C101 (T96)
12 S102
13 C103
Fig 3: Front Fascia Harnesses (Z88)
GM1695158Courtesy of GENERAL MOTORS CORP.
Callout Component Name
1 Fuse Block - Underhood
2 C101
3 C107 (VYU)
4 Grill
5 C108 (VYU)
6 C104
7 C105 (T96)
8 G101
9 S101
10 G100
11 S100
12 C102 (T96)
13 C103
Fig 4: Front Axle (NP8)
GM1695149Courtesy of GENERAL MOTORS CORP.
Callout Component Name
1 Frame
2 C110
3 Front Axle Housing
4 Front Axle Actuator
Fig 5: Engine Harness - Front
GM1694888Courtesy of GENERAL MOTORS CORP.
Callout Component Name
1 G103
2 C111
3 S105
4 C109
5 Fuse Block - Underhood C2
6 S104
7 Transmission Control Module (TCM) Connector
8 Engine Control Module (ECM) C1
9 C110 (NP8)
10 Engine Control Module (ECM) C2
11 G102
12 C112
Fig 6: Engine Harness - Rear
GM1694890Courtesy of GENERAL MOTORS CORP.
Callout Component Name
1 Fuse Block - Underhood C2
2 C113
3 S106
4 Mass Air Flow (MAF) Sensor Connector
5 C300
6 C175
Fig 7: Ignition Coil Harnesses
GM1694891Courtesy of GENERAL MOTORS CORP.
Callout Component Name
1 Upper Intake
2 S107
3 S108
4 C111
5 S109
6 S111
7 S110
8 C113
9 S112
Fig 8: Brake Clutch Harness (JF4)
GM1695155Courtesy of GENERAL MOTORS CORP.
Callout Component Name
1 C205
2 Dash Panel
3 Junction Block - Left I/P C7
Fig 9: Brake Clutch Harness (w/o JF4)
GM1695153Courtesy of GENERAL MOTORS CORP.
Callout Component Name
1 C205
2 Dash Panel
Fig 10: I/P Harness - Engine Compartment (YE9)
GM1694971Courtesy of GENERAL MOTORS CORP.
Callout Component Name
1 G110
2 Fuse Block - Underhood C5
3 Fuse Block - Underhood C4
4 Stud #2 Terminal
5 C103
6 C109
7 C115
8 S113
9 Dash Panel
Fig 11: I/P Harness - Passenger Compartment (YE9)
GM1694973Courtesy of GENERAL MOTORS CORP.
Callout Component Name
1 S201
2 S207
3 S200
4 G201
5 Splice Pack SP200
6 C205
7 Junction Block - Left I/P C1
8 C212
9 C212
10 Junction Block - Left I/P C2
11 S203
12 S206
13 C208
14 Junction Block - Right I/P
15 C207
16 Floor Panel
17 C202
18 C200
19 Data Link Connector (DLC)
20 Fuse BLock - I/P C1
21 C201
Fig 12: I/P Harness - Engine Compartment (Z75 and Y91)
GM1694972Courtesy of GENERAL MOTORS CORP.
Callout Component Name
1 G110
2 Fuse Block - Underhood C5
3 Fuse Block - Underhood C4
4 C103
5 C109
6 C115
7 C117 (BRS)
8 Dash Panel
Fig 13: I/P Harness - Passenger Compartment (Z75 and Y91)
GM1694969Courtesy of GENERAL MOTORS CORP.
Callout Component Name
1 Splice Pack SP200
2 G201
3 S201
4 S200
5 C203
6 C204 (U42)
7 C205
8 C201
9 Junction Block - Left I/P C1
10 Junction Block - Left I/P C2
11 S202 (UQ5 and DNU)
12 S203
13 S204
14 S205
15 C206 (DNU)
16 C213
17 C208
18 Junction Block - Right I/P
19 C207
20 C209
21 C206
22 C210
23 C211 (D07)
24 Floor Panel
25 C202
26 C200
27 Junction Block - Left I/P C3
28 Fuse Block - I/P
Fig 14: Interior HVAC Module
GM1694908Courtesy of GENERAL MOTORS CORP.
Callout Component Name
1 Air Temperature Actuator - Right
2 Recirculation Actuator
3 Junction Block - Right I/P C4
4 G200
5 Blower Motor
6 Air Temperature Sensor - Lower Right (CJ2)
7 Air Temperature Actuator - Left
8 Blower Motor Control Module
9 Air Temperature Sensor - Lower Left (CJ2)
10 Mode Actuator
Fig 15: Console Harness (Z75)
GM1695144Courtesy of GENERAL MOTORS CORP.
Callout Component Name
1 C211
2 Console Trim
3 S330
4 C309
5 C210
Fig 16: Console Harness (Y91 and YE9)
GM1695146Courtesy of GENERAL MOTORS CORP.
Callout Component Name
1 Floor Panel
2 Console
3 C309 (Y91)
4 S330
5 C211
Fig 17: Driver Seat Harness (AN3 and KB6)
GM1694896Courtesy of GENERAL MOTORS CORP.
Callout Component Name
1 S305 (AN3)
2 Lumbar Motor Inline
3 Seat Frame
4 S312
5 S311 (AN3)
6 S305 (AG2 w/o AN3)
7 S310 (AN3)
8 S309 (AN3)
9 S307 (KB6)
10 S308
11 S306 (AN3)
12 C303
Fig 18: Passenger Seat Harness (AN3 and KB6)
GM1694894Courtesy of GENERAL MOTORS CORP.
Callout Component Name
1 Seat Frame
2 Lumbar Motor Inline
3 Lumbar Sensor Inline
4 S318 (KB6)
5 S317 (KB6)
6 C305
7 S313
8 S314 (AN3)
9 S315 (AN3)
10 S316 (AN3 Except KB6)
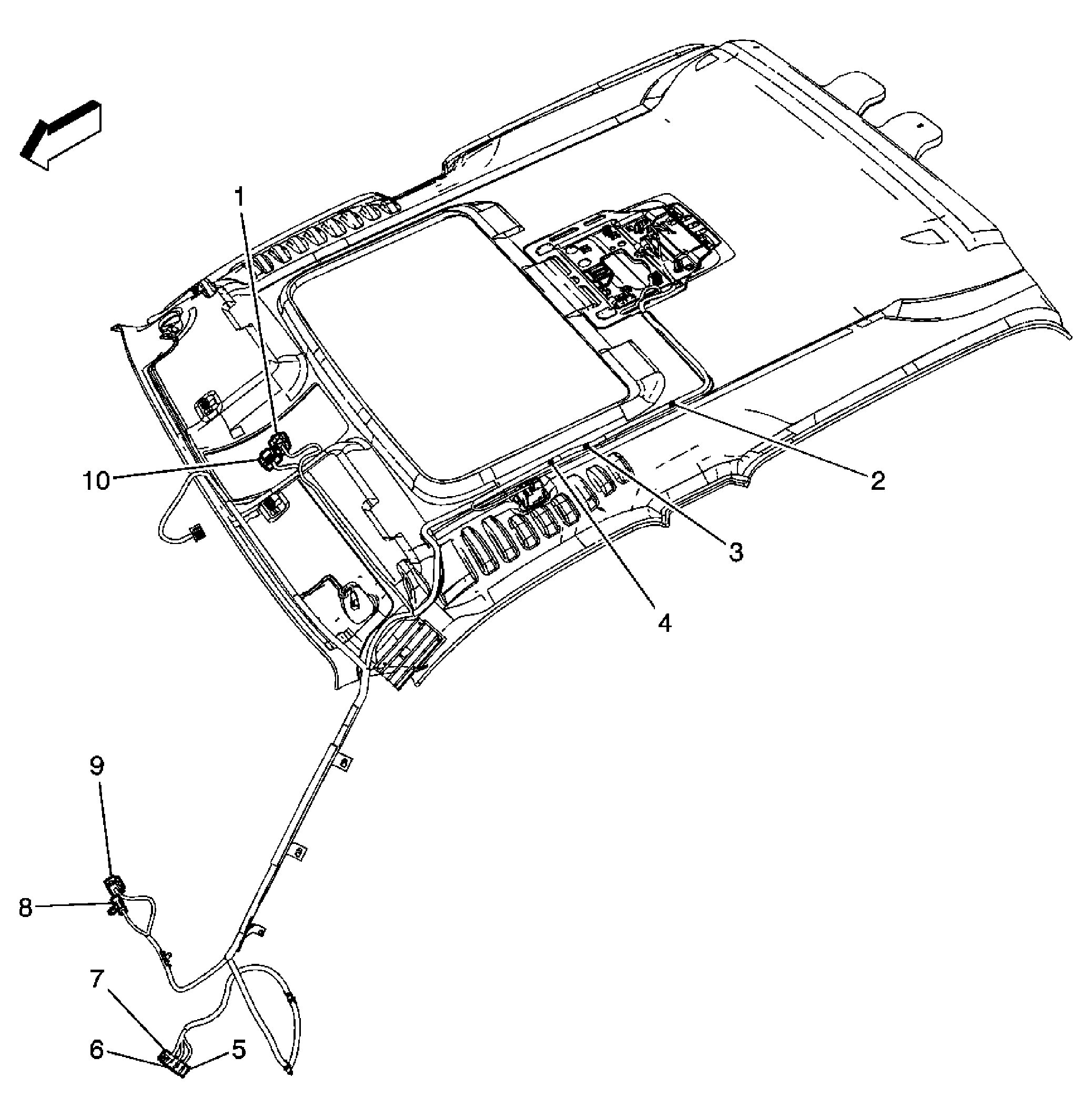
Fig 19: Headliner Harness (Except E52)
GM1695041Courtesy of GENERAL MOTORS CORP.
Callout Component Name
1 C306 (w/o Y91)
2 S326
3 S327
4 S328
5 Junction Block - Left I/P C8
6 Junction Block - Left I/P C9
7 Junction Block - Left I/P C10
8 C203
9 C204 (CJ2 w/ U42)
10 C304
Fig 20: Headliner Harness (Short Wheel Base w/ Y91)
GM1695038Courtesy of GENERAL MOTORS CORP.
Callout Component Name
1 C306 (w/o Y91)
2 C403
3 Headliner
4 S325 (CJ2)
5 S326
6 S327
7 S328
8 Junction Block - Left I/P C8
9 C203
10 C204 (CJ2, C36, and U42)
11 C304
Fig 21: Headliner Harness (Short Wheel Base w/ YE9)
GM1695033Courtesy of GENERAL MOTORS CORP.
Callout Component Name
1 C304
2 C403
3 Headliner
4 S325 (CJ2)
5 S326
6 S327
7 S328
8 Junction Block - Left I/P C10
9 Junction Block - Left I/P C8
10 Junction Block - Left I/P C9
11 C203
Fig 22: Headliner and Antenna Harnesses (Long Wheel Base)
GM1695024Courtesy of GENERAL MOTORS CORP.
Callout Component Name
1 C406
2 Headliner
3 S329 (DNU)
4 S325 (CJ2)
5 S326
6 S327
7 S328
8 C203
9 C204
10 Junction Block - Left I/P C8
11 Junction Block - Left I/P C9
12 Junction Block - Left I/P C10
13 C213 (U84)
14 C208 (U84)
15 C304
16 C306
17 C403
Fig 23: Driver Door Harness
GM1694868Courtesy of GENERAL MOTORS CORP.
Callout Component Name
1 Door Frame
2 Fuse Block - I/P Connector
3 C216 (ASF)
Fig 24: Passenger Door Harness
GM1694870Courtesy of GENERAL MOTORS CORP.
Callout Component Name
1 Junction Block - Right I/P C3
2 Door Frame
3 C215 (ASF)
Fig 25: LR Door Harness
GM1694874Courtesy of GENERAL MOTORS CORP.
Callout Component Name
1 Door Frame
2 C301
Fig 26: RR Door Harness
GM1694876Courtesy of GENERAL MOTORS CORP.
Callout Component Name
1 C302
2 Door Frame
Fig 27: Body Harness - Passenger Compartment (Except E52)
GM1694963Courtesy of GENERAL MOTORS CORP.
Callout Component Name
1 G301
2 S304 (AG2)
3 C305
4 C302
5 G304
6 C307
7 C311
8 C310
9 C308
10 G303
11 C301
12 Splice Pack SP300
13 C303
14 C275
15 C216 (ASF)
16 C202
17 C200
18 Junction Block - Left I/P C13
19 Junction Block - Left I/P C12
20 Junction Block - Left I/P C11
21 S303
22 C309 (Y91)
23 S302
24 C215
25 C207
26 C209
Fig 28: Body Harness - Front Compartment (Short Wheel Base)
GM1694949Courtesy of GENERAL MOTORS CORP.
Callout Component Name
1 C207
2 G301
3 G302
4 C305
5 C302
6 G304
7 C307 (AR5 and KA6)
8 S302
9 S303
10 C301
11 G303
12 Splice Pack SP300
13 C303
14 Fuse Block - I/P C2
15 Fuse Block - I/P C3
16 C275
17 C216 (ASF)
18 C202
19 C200
20 Dash Panel
21 C309 (Y91)
22 C215
23 C209
Fig 29: Body Harness - Rear Compartment (Short Wheel Base)
GM1694955Courtesy of GENERAL MOTORS CORP.
Callout Component Name
1 C403
2 C407
3 G402
4 S400
5 C405
6 C404
7 C408 (UO7)
8 LR Wheel Liner
9 C308 (ARS and KA6)
10 C307 (ARS and KA6)
Fig 30: Body Harness - Front Compartment (Long Wheel Base)
GM1694938Courtesy of GENERAL MOTORS CORP.
Callout Component Name
1 C215
2 G302
3 C305
4 C302
5 G304
6 C307 (ARS and KA6)
7 C403
8 S302
9 S303
10 C308 (ARS and KA6)
11 G303
12 C301
13 Splice Pack SP300
14 C303
15 C275
16 C216 (ASF)
17 C200
18 C202
19 C309 (Y91)
20 G301
21 C207
22 C209
Fig 31: Body Harness - Rear Compartment (Long Wheel Base)
GM1694944Courtesy of GENERAL MOTORS CORP.
Callout Component Name
1 C403
2 C408 (UO7)
3 C407
4 G402
5 C406 (LWB)
6 S400
7 C405
8 C404
9 Rear Foot Panel
Fig 32: Chassis Harness (Except E52)
GM1694898Courtesy of GENERAL MOTORS CORP.
Callout Component Name
1 Chassis
2 S331
3 C310
4 C140
5 C412
6 C409
7 C411
8 G400
9 G401
10 S301 (Z55 and Z95)
11 C300
12 S300
13 G300
14 C115
Fig 33: Chassis Harness (Short Wheel Base)
GM1694902Courtesy of GENERAL MOTORS CORP.
Callout Component Name
1 C115
2 Fuse Block - Underhood C3
3 Stud #1 Terminal
4 S300
5 C300
6 S331
7 C412
8 Trailer Connector
9 C411
10 G400
11 G401
12 C400
13 G305
14 S301 (Z55 and Z95)
15 G300
Fig 34: Chassis Harness (Long Wheel Base)
GM1694899Courtesy of GENERAL MOTORS CORP.
Callout Component Name
1 C115
2 Fuse Block - Underhood C3
3 C412
4 Trailer Connector
5 C411
6 G400
7 G401
8 C400 (Z55)
9 S331
10 S301 (Z55 and Z95)
11 C300
12 S300
13 G300
Fig 35: Rear HVAC Module (Short Wheel Base)
GM1694907Courtesy of GENERAL MOTORS CORP.
Callout Component Name
1 C407
2 G402
3 Blower Motor
4 Auxiliary Mode Actuator
5 Auxiliary Air Temperature Actuator
6 Auxiliary Blower Motor Control Module
7 Air Temperature Sensor - Auxiliary
Fig 36: Rear HVAC Module (Long Wheel Base)
GM1694906Courtesy of GENERAL MOTORS CORP.
Callout Component Name
1 Mode Actuator
2 Blower Motor
3 C407
4 G402
5 Blower Motor Control Module
6 Air Temperature Actuator - Auxiliary
7 Air Temperature Sensor - Auxiliary
Fig 37: Liftgate Harness (E52)
GM1695151Courtesy of GENERAL MOTORS CORP.
Callout Component Name
1 C405
2 S900
3 Rear Window Defogger C2
4 C900
5 C901
6 S904
7 S903
8 S902
9 Rear Window Defogger C1
10 S901