LEMON Manuals: Even more car manuals for everyone: 1960-2025
Home >> Cadillac >> 2007 >> Escalade EXT >> Repair and Diagnosis >> External Pages >> Different car >> Section 1214 (Component Locations) >> Front of Vehicle/Engine Compartment Component Views
April 5, 2026: LEMON Manuals is launched! Read the announcement.

Front of Vehicle/Engine Compartment Component Views

WARNING: This page is about a different car, the 2008 Cadillac CTS. However, it is still accessible from the selected car via links, so may be relevant.
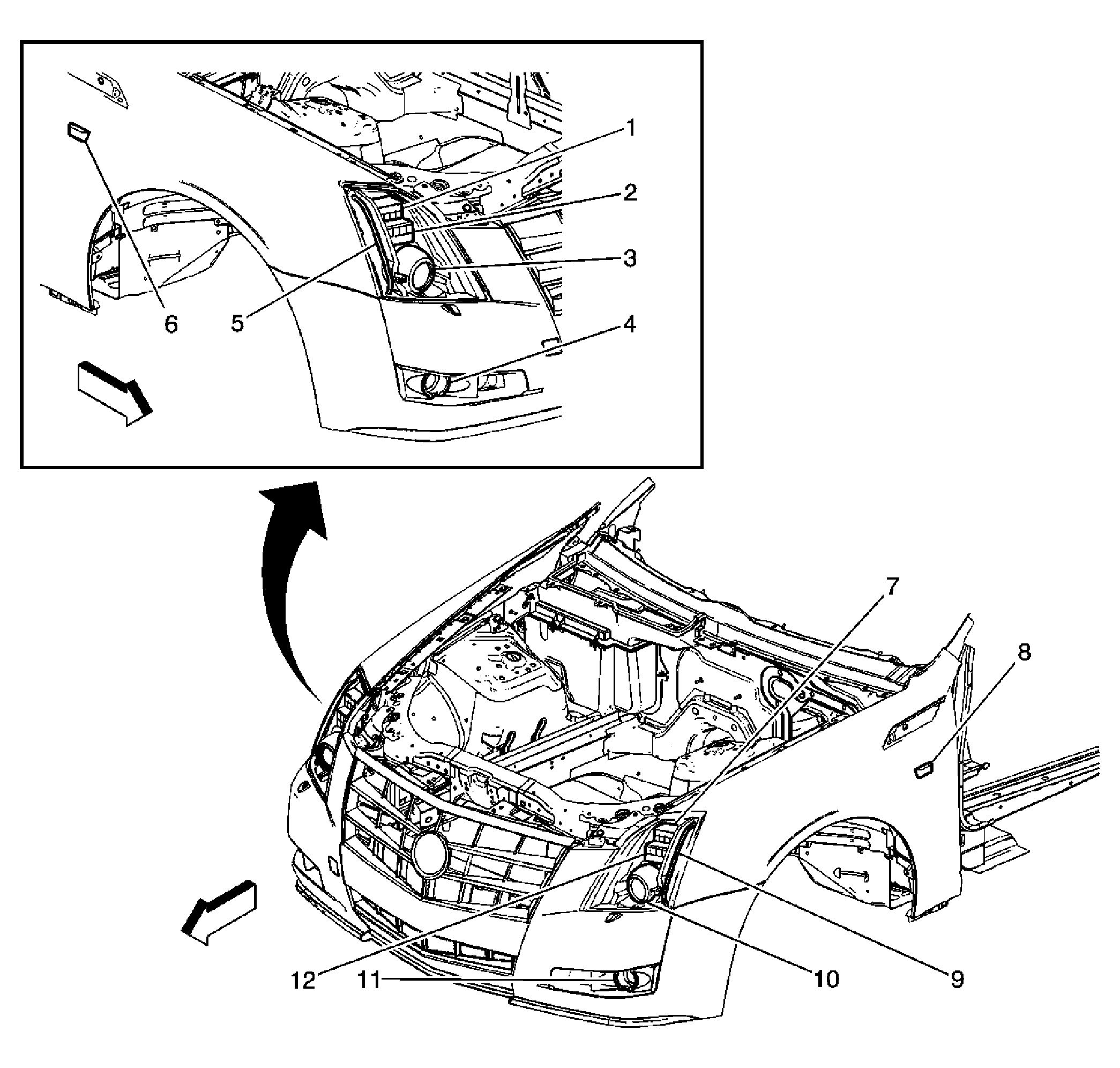
Fig 1: Front Fascia
GM1992462Courtesy of GENERAL MOTORS CORP.
Callout Component Name
1 Turn Signal Lamp - Right Front
2 Daytime Running Lamp (DRL) - Right (TT6/TT7/TT8)
3 Headlamp - Right High/Low Beam
4 Fog Lamp - Right Front
5 Side Marker Tube-Right Front
6 Repeater Lamp - Right (T90)
7 Turn Signal Lamp - Left Front
8 Repeater Lamp - Left (T90)
9 Side Marker Tube-Left Front
10 Headlamp - Left High/Low Beam
11 Fog Lamp-Left
12 Daytime Running Lamp (DRL) - Left (TT6/TT7/TT8)
Fig 2: Headlamps - Uplevel
GM1992483Courtesy of GENERAL MOTORS CORP.
Callout Component Name
1 Headlamp Ballast - Right (TT6/TT7/TT8)
2 Headlamp Motor - Right (TR7+TT6/TT7/TT8)
3 Headlamp Module (TT6/TT7/TT8)
4 Headlamp Motor - Left (TR7+TT6/TT7/TT8)
5 Headlamp - Ballast Left (TT6/TT7/TT8)
6 Headlamp Leveling Sensor - Right Front (TR7)
Fig 3: Front Engine Compartment
GM1992502Courtesy of GENERAL MOTORS CORP.
Callout Component Name
1 Brake Fluid Level Switch
2 Mass Air Flow (MAF) / Intake Air Temperature (IAT) Sensor (LLT)
3 Fuse Block - Underhood
4 Engine Control Module (ECM)
5 Electronic Brake Control Module (EBCM)
Fig 4: Coolant Surge Tank Component Views
GM1794357Courtesy of GENERAL MOTORS CORP.
Callout Component Name
1 Coolant Surge Tank (RHD)
2 Coolant Surge Tank (LHD)
Fig 5: Clutch Pedal Position (CPP) Sensor Component View (M35/M12/MN6)
GM1403062Courtesy of GENERAL MOTORS CORP.
Callout Component Name
1 Clutch Pedal Position (CPP) Switch
2 Clutch Master Cylinder