LEMON Manuals: Even more car manuals for everyone: 1960-2025
Home >> Cadillac >> 2007 >> Escalade EXT >> Repair and Diagnosis >> External Pages >> Different car >> Section 1749 (Component Locations - Passenger Compartment/Roof Component Views) >> Passenger Compartment/Roof Component Views >> Right A-Pillar Components (UQ3/UQA)
April 5, 2026: LEMON Manuals is launched! Read the announcement.

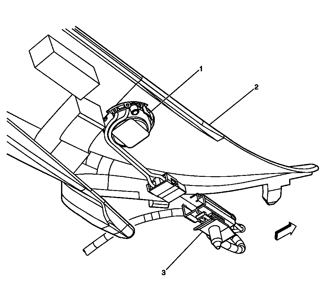
Right A-Pillar Components (UQ3/UQA)

WARNING: This page is about a different car, the 2010 GMC Sierra, 2010 GMC Cab & Chassis Sierra, 2010 Chevrolet Silverado, and 2010 Chevrolet Cab & Chassis Silverado. However, it is still accessible from the selected car via links, so may be relevant.
Fig 1: Right A-Pillar Components (UQ3/UQA)
GM1970093Courtesy of GENERAL MOTORS CORP.
Callout Component Name
1 Speaker - Right Front Tweeter (except MEX)
2 Right A-Pillar Trim
3 Speaker - Left Front Tweeter Connector (except MEX)