LEMON Manuals: Even more car manuals for everyone: 1960-2025
Home >> Cadillac >> 2007 >> Escalade EXT >> Repair and Diagnosis >> External Pages >> Different car >> Section 1827 (Wiring Systems And Power Management - Component Connector End Views - Mode Actuator Through Yaw Sensor) >> Component Connector End Views >> Seat Back Ventilation Heating and Cooling Module - Passenger (KB6)
April 5, 2026: LEMON Manuals is launched! Read the announcement.

Seat Back Ventilation Heating and Cooling Module - Passenger (KB6)

WARNING: This page does not describe the selected car, but rather 8 other vehicles, including the 2011 GMC Yukon XL, 2011 GMC Yukon, 2011 Chevrolet Tahoe, 2011 Chevrolet Suburban, and 2011 Chevrolet Avalanche. However, it is still accessible from the selected car via links, so may be relevant.
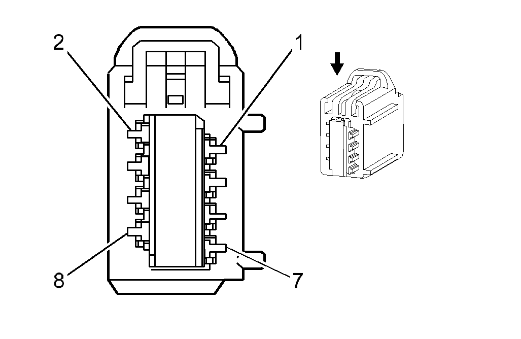
Fig 1: Seat Back Ventilation Heating and Cooling Module - Passenger (KB6) Connector End View
GM1554145Courtesy of GENERAL MOTORS CORP.
Seat Back Ventilation Heating and Cooling Module - Passenger (KB6)

Pin Wire Circuit Function
1 1 YE 6197 Passenger Seat Back Heated/Cool Ventilation Module Heat Control
2 0.35 WH 5194 Passenger Seat Blower Voltage Reference
3 1 D-BU/WH 6198 Passenger Seat Back Heated/Cool Ventilation Module Cool Control
4 0.35 L-GN 5916 Low Reference
5 0.35 TN 2436 Passenger Seat Back Temperature Sensor Signal
6 - - Not Used
7 0.35 WH/BU 7011 Passenger Seat Back Blower Speed Control
8 0.35 TN 2482 Low Reference
Connector Part Information
  • Harness Type: Passenger Seat
  • OEM Connector: E3575-001
  • Service Connector: Service by Harness - See Part Catalog
  • Description: 8-Way F 1.5mm Unsealed (BK)
Terminal Part Information
  • Pins: 1, 3
  • Terminated Lead: 13575829
  • Release Tool: J-38125-11A
  • Diagnostic Test Probe: J-35616-2A (GY)
  • Terminal/Tray: 7116-4101-08/9
  • Core/Insulation Crimp: E/A
  • Pins: 2, 4, 5, 7, 8
  • Terminated Lead: 13578891
  • Release Tool: J-38125-11A
  • Diagnostic Test Probe: J-35616-2A (GY)
  • Terminal/Tray: 7116-4100-08/9
  • Core/Insulation Crimp: E/C