LEMON Manuals: Even more car manuals for everyone: 1960-2025
Home >> Cadillac >> 2007 >> Escalade EXT >> Repair and Diagnosis >> External Pages >> Different car >> Section 2085 (OEM Connector End Views - Sierra & SILVERADO - Lighting Systems, Mirror, Object Detection, Power And Grounding, Power Outlet, Power Seat, Power Take-Off (PTO), Remote Function, Seat Belt, Secondary/Configurable Control, Shift Lock Control, Sir) >> SIR Connector End Views >> Inflatable Restraint Side Impact Sensor (SIS) Connector End View - Left Rear (Crew Cab +ASF)
April 5, 2026: LEMON Manuals is launched! Read the announcement.

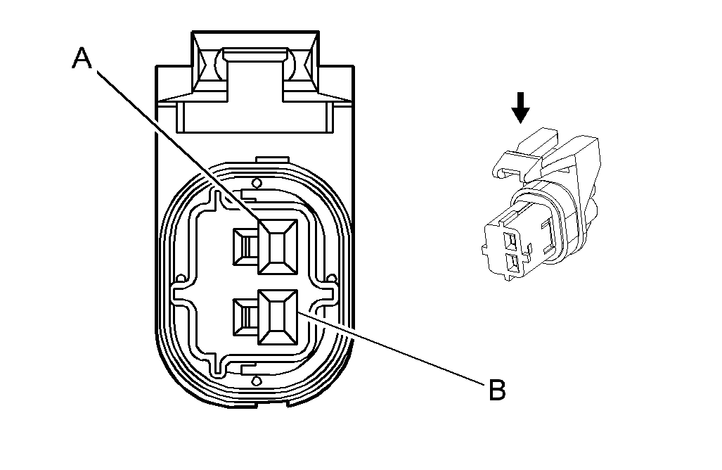
Inflatable Restraint Side Impact Sensor (SIS) Connector End View - Left Rear (Crew Cab +ASF)

WARNING: This page is about a different car, the 2007 GMC Sierra and 2007 Chevrolet Silverado. However, it is still accessible from the selected car via links, so may be relevant.
Fig 1: Inflatable Restraint Side Impact Sensor (SIS) - Left Rear (Crew Cab +ASF) Connector End View
GM1336240Courtesy of GENERAL MOTORS CORP.
Inflatable Restraint Side Impact Sensor (SIS) - Left Rear (Crew Cab +ASF) Connector Parts Information

Connector Part Information 
  • OEM: 15356725
  • Service: 88986455
  • Description: 2-Way F GT 150 Sealed (YE)
Terminal Part Information 
  • Terminal/Tray: Service with Pigtail
  • Core/Insulation Crimp: N/A
  • Release Tool/Test Probe: 15315247/J-35616-2A (GY)
Inflatable Restraint Side Impact Sensor (SIS) - Left Rear (Crew Cab +ASF) Connector Terminal Identification

Pin Wire Color Circuit No. Function
A 0.5 L-GN/BK 6623 Low Reference
B 0.5 L-BU 6622 Left Rear Side Impact Sensing Module Signal