LEMON Manuals: Even more car manuals for everyone: 1960-2025
Home >> Cadillac >> 2007 >> Escalade EXT >> Repair and Diagnosis >> External Pages >> Different car >> Section 265 (On-Board Diagnostic [Engine Control System]) >> DTC P0031: Front Ho2S Heater Circuit Low Input >> Except for California Emission Regulation Applicable Module
April 5, 2026: LEMON Manuals is launched! Read the announcement.

Except for California Emission Regulation Applicable Module

WARNING: This page is about a different car, the 2004 Mazda 3. However, it is still accessible from the selected car via links, so may be relevant.
Fig 1: DTC P0031: Detection Condition & Possible Causes Chart (1 Of 2)
G00974399Courtesy of MAZDA MOTORS CORP.
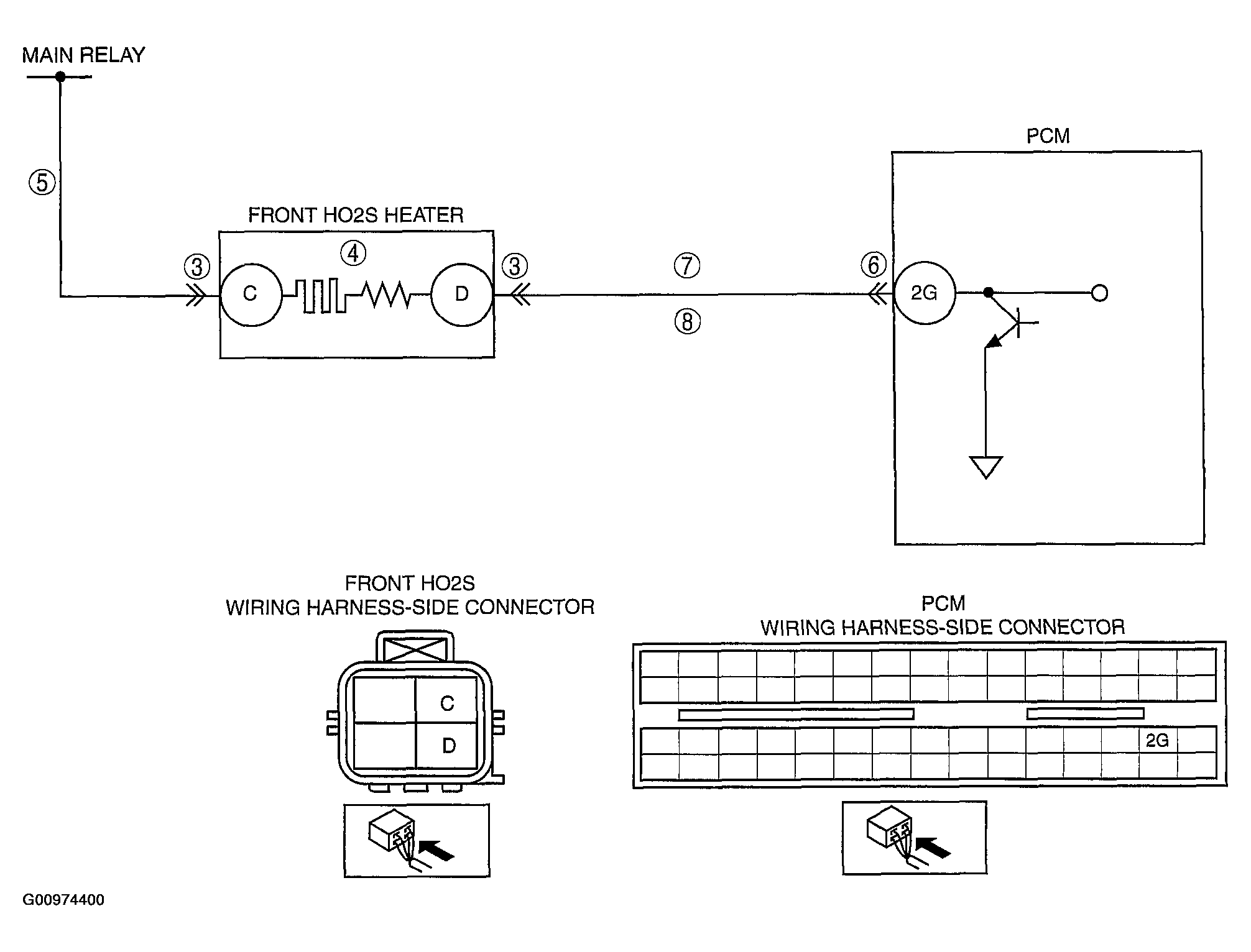
Fig 2: DTC P0031: Detection Condition & Possible Causes Chart (2 Of 2)
G00974400Courtesy of MAZDA MOTORS CORP.