LEMON Manuals: Even more car manuals for everyone: 1960-2025
Home >> Cadillac >> 2007 >> Escalade EXT >> Repair and Diagnosis >> External Pages >> Different car >> Section 276 (Power Steering System) >> Steering Gear And Linkage Assembly >> Pinion Shaft and Valve Housing Component Assembly Note
April 5, 2026: LEMON Manuals is launched! Read the announcement.

Pinion Shaft and Valve Housing Component Assembly Note

WARNING: This page is about a different car, the 2004 Mazda 3. However, it is still accessible from the selected car via links, so may be relevant.
  1. Set the rack in the center with the measurement between rack housing end and rack end as shown in the figure.
    Fig 1: Centering Rack In Housing
    G00975781Courtesy of MAZDA MOTORS CORP.
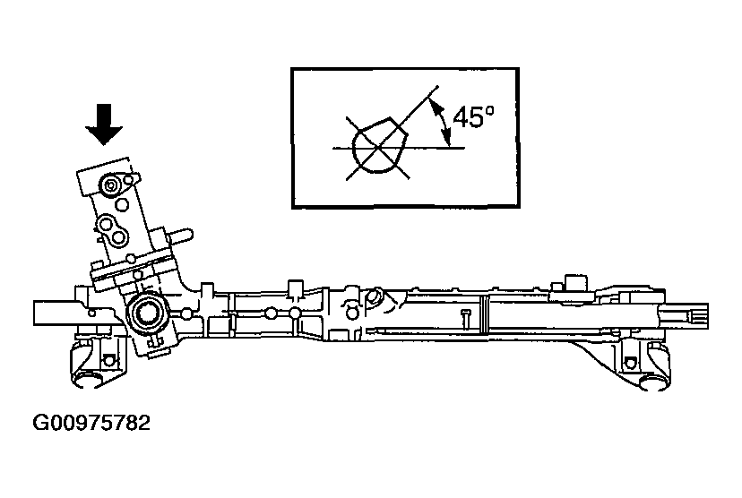
  2. When the pinion shaft position is as shown in the figure with the rack in the center, insert the pinion shaft and valve housing component.
    Fig 2: Locating Pinion Shaft Position For Inserting Pinion Shaft & Valve Housing Component
    G00975782Courtesy of MAZDA MOTORS CORP.