LEMON Manuals: Even more car manuals for everyone: 1960-2025
Home >> Cadillac >> 2007 >> Escalade EXT >> Repair and Diagnosis >> External Pages >> Different car >> Section 310 (Body Control System) >> Schematic Wiring Diagrams >> Body Control System Schematics (Power, Ground and Serial Data - 1 of 2)
April 5, 2026: LEMON Manuals is launched! Read the announcement.

Body Control System Schematics (Power, Ground and Serial Data - 1 of 2)

WARNING: This page does not describe the selected car, but rather 8 other vehicles, including the 2003 GMC Yukon XL, 2003 GMC Yukon, 2003 Chevrolet Tahoe, 2003 Chevrolet Suburban, and 2003 Chevrolet Avalanche. However, it is still accessible from the selected car via links, so may be relevant.
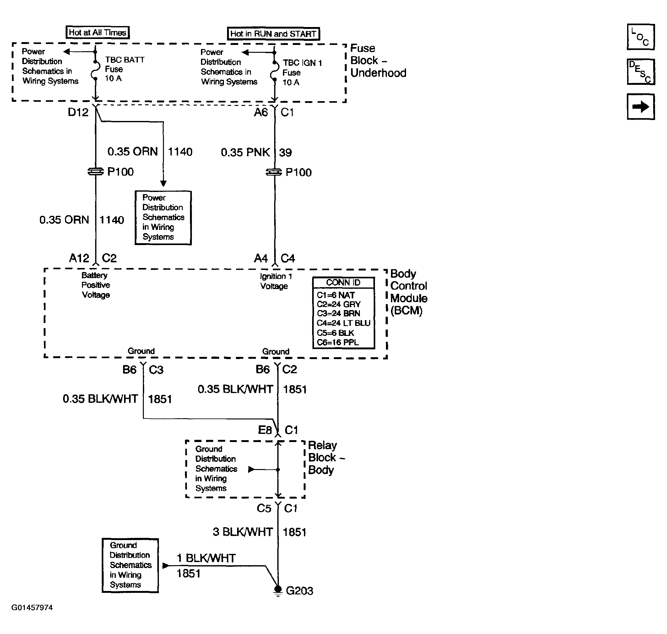
Fig 1: Body Control System Schematics Diagram (Power, Ground And Serial Data - 1 Of 2)
G01457974Courtesy of GENERAL MOTORS CORP.
Fig 2: Body Control System Schematics Diagram (Power, Ground And Serial Data - 2 Of 2)
G01457975Courtesy of GENERAL MOTORS CORP.
Fig 3: Body Control System Schematics Diagram (Interior Lights Systems References)
G01457976Courtesy of GENERAL MOTORS CORP.
Fig 4: Body Control System Schematics Diagram (Exterior Lighting Systems References)
G01457977Courtesy of GENERAL MOTORS CORP.
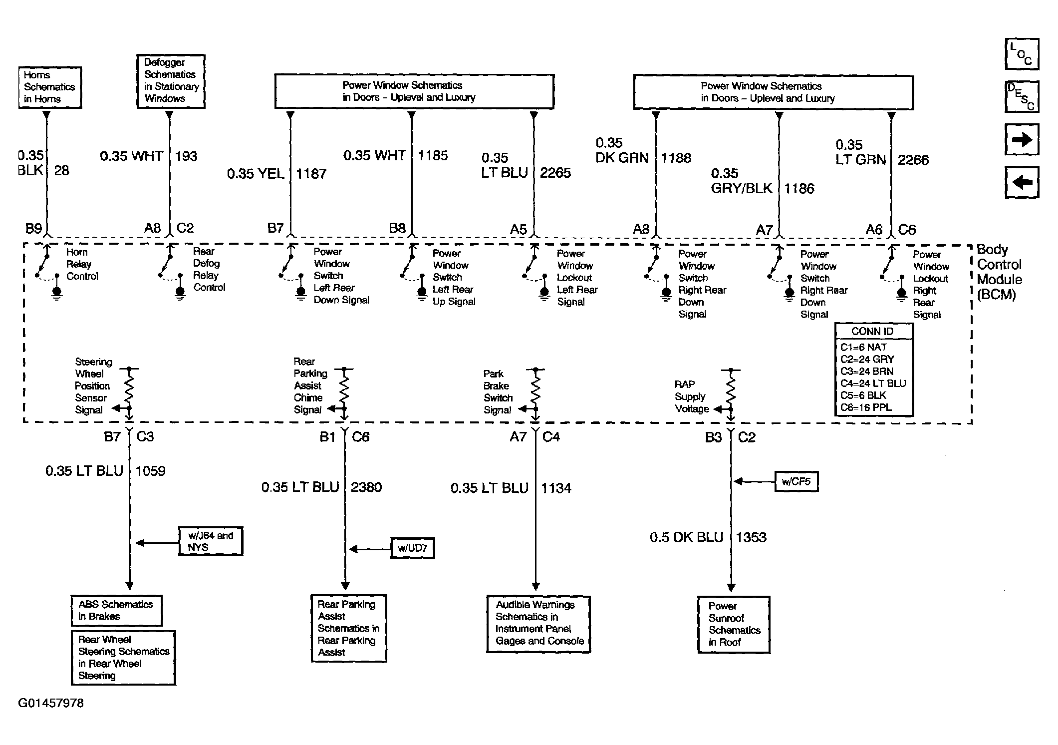
Fig 5: Body Control System Schematics Diagram (Controlled/Monitored Subsystem References - 1 Of 2)
G01457978Courtesy of GENERAL MOTORS CORP.
Fig 6: Body Control System Schematics Diagram (Controlled/Monitored Subsystem References - 2 Of 2)
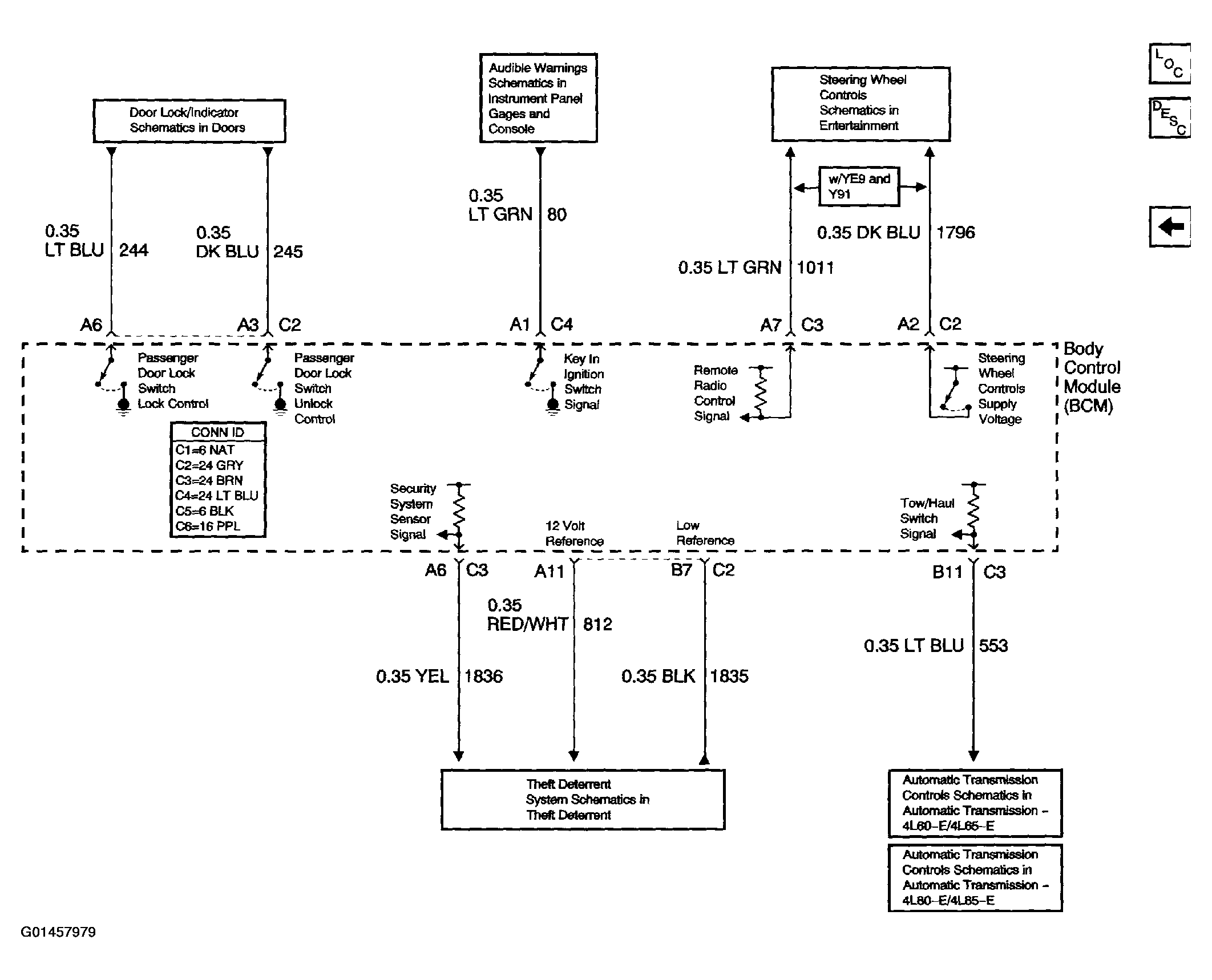
G01457979Courtesy of GENERAL MOTORS CORP.