LEMON Manuals: Even more car manuals for everyone: 1960-2025
Home >> Cadillac >> 2007 >> Escalade EXT >> Repair and Diagnosis >> External Pages >> Different car >> Section 317 (Lighting Systems) >> Schematic and Routing Diagrams >> Headlight Leveling Schematics
April 5, 2026: LEMON Manuals is launched! Read the announcement.

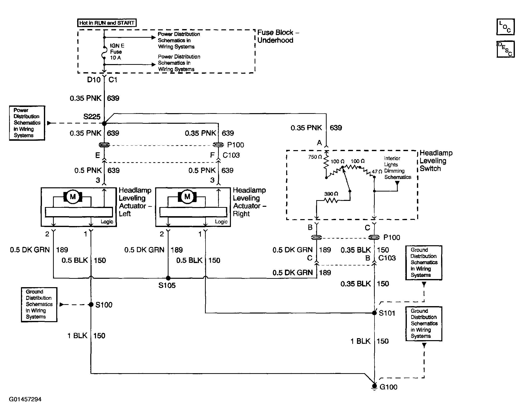
Headlight Leveling Schematics

WARNING: This page does not describe the selected car, but rather 8 other vehicles, including the 2003 GMC Yukon XL, 2003 GMC Yukon, 2003 Chevrolet Tahoe, 2003 Chevrolet Suburban, and 2003 Chevrolet Avalanche. However, it is still accessible from the selected car via links, so may be relevant.
Fig 1: Headlight Leveling Schematics Diagram
G01457294Courtesy of GENERAL MOTORS CORP.