LEMON Manuals: Even more car manuals for everyone: 1960-2025
Home >> Cadillac >> 2007 >> Escalade EXT >> Repair and Diagnosis >> External Pages >> Different car >> Section 378 (Engine Controls - 8.1L (Introduction)) >> Schematic and Routing Diagrams >> Engine Controls Schematics
April 5, 2026: LEMON Manuals is launched! Read the announcement.

Engine Controls Schematics

WARNING: This page is about a different car, the 2004 GMC Sierra, 2004 GMC Cab & Chassis Sierra, 2004 Chevrolet Silverado, and 2004 Chevrolet Cab & Chassis Silverado. However, it is still accessible from the selected car via links, so may be relevant.
Fig 1: Module Power, Ground, Serial Data and MIL Schematic
GM1232923Courtesy of GENERAL MOTORS CORP.
Fig 2: Engine Data Sensors - Pressure, Temperature and VSS Schematic
GM1232925Courtesy of GENERAL MOTORS CORP.
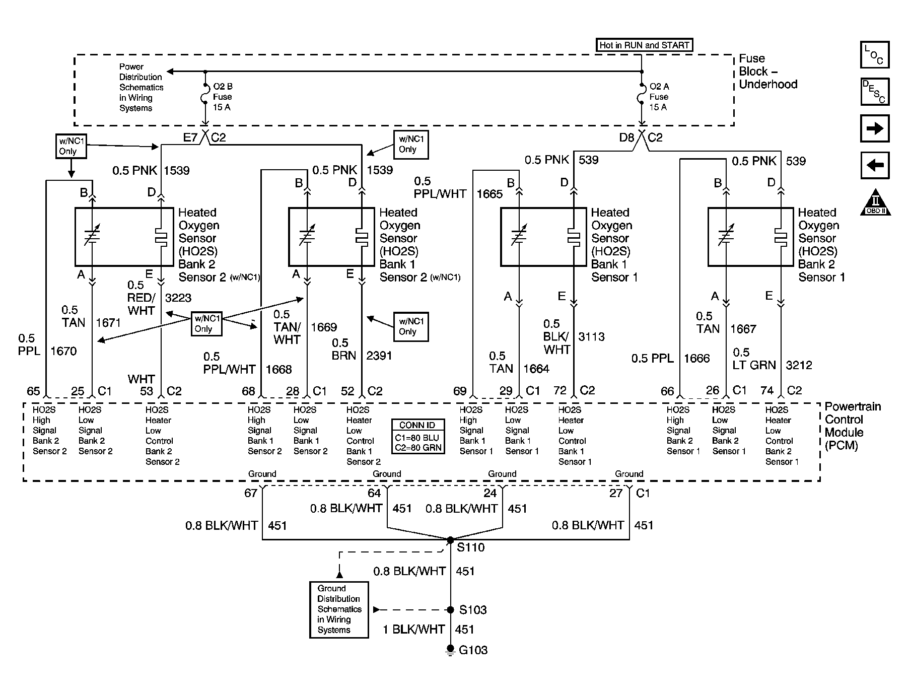
Fig 3: Engine Data Sensors Schematic - HO2S
GM1232927Courtesy of GENERAL MOTORS CORP.
Fig 4: Engine Data Sensors - Electronic Throttle Controls Schematic - 1 of 2
GM1226793Courtesy of GENERAL MOTORS CORP.
Fig 5: Engine Data Sensors - Electronic Throttle Controls Schematic - 2 of 2
GM1226798Courtesy of GENERAL MOTORS CORP.
Fig 6: Ignition Controls - Ignition System Coils 1, 3, 5 and 7 Schematic
GM1232931Courtesy of GENERAL MOTORS CORP.
Fig 7: Ignition Controls - Ignition System Coils 2, 4, 6 and 8 Schematic
GM1232933Courtesy of GENERAL MOTORS CORP.
Fig 8: Ignition Controls - Sensors
GM1232936Courtesy of GENERAL MOTORS CORP.
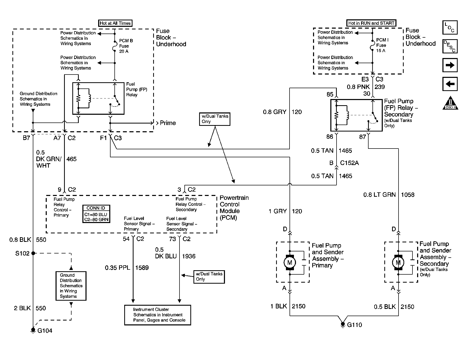
Fig 9: Fuel Controls - Fuel Pump Controls Schematic
GM1232938Courtesy of GENERAL MOTORS CORP.
Fig 10: Fuel Controls - Fuel Injectors Schematic
GM1232941Courtesy of GENERAL MOTORS CORP.
Fig 11: Fuel Controls - EVAP Controls and Fuel Tank Pressure Schematic
GM1232942Courtesy of GENERAL MOTORS CORP.
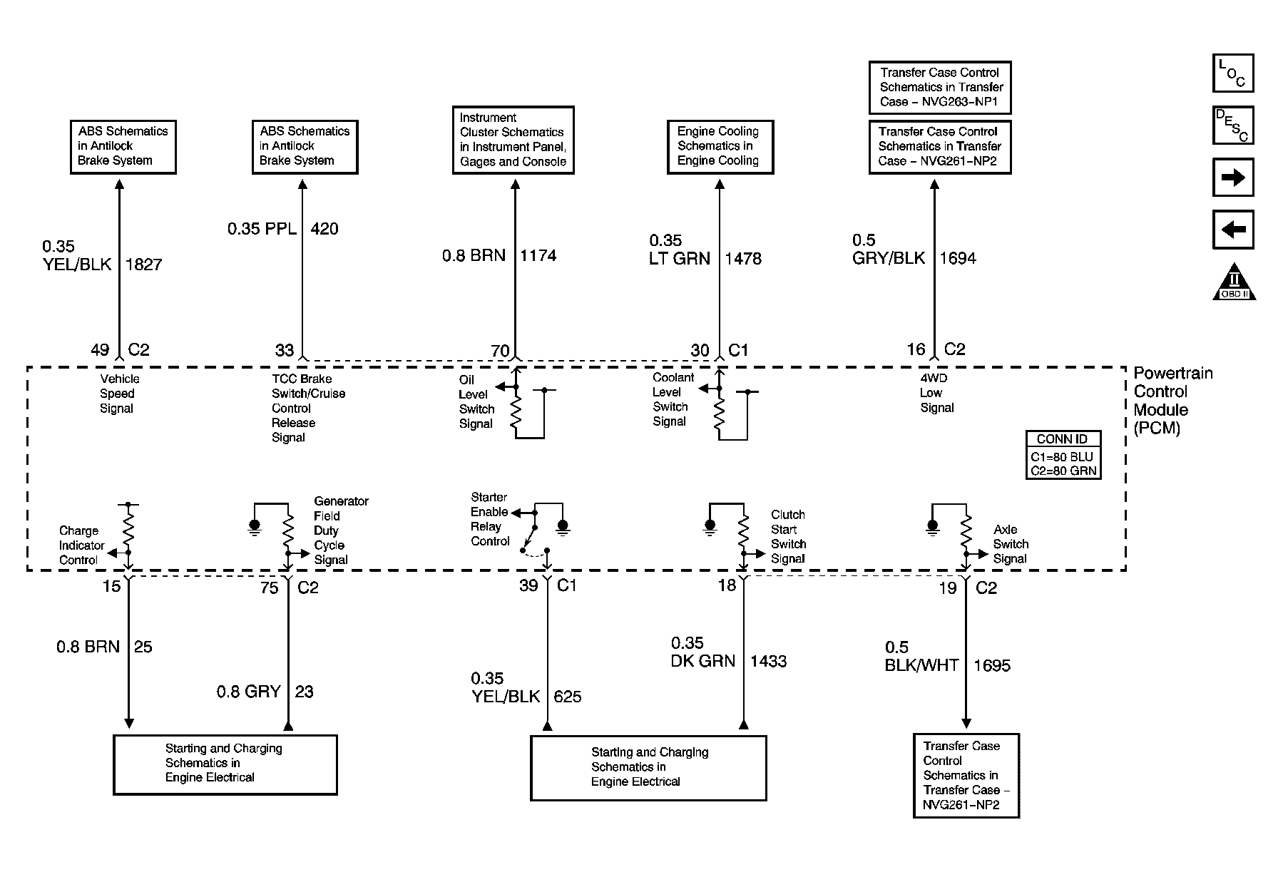
Fig 12: Controlled/Monitored Subsystem References Schematic - 1 of 2
GM1232944Courtesy of GENERAL MOTORS CORP.
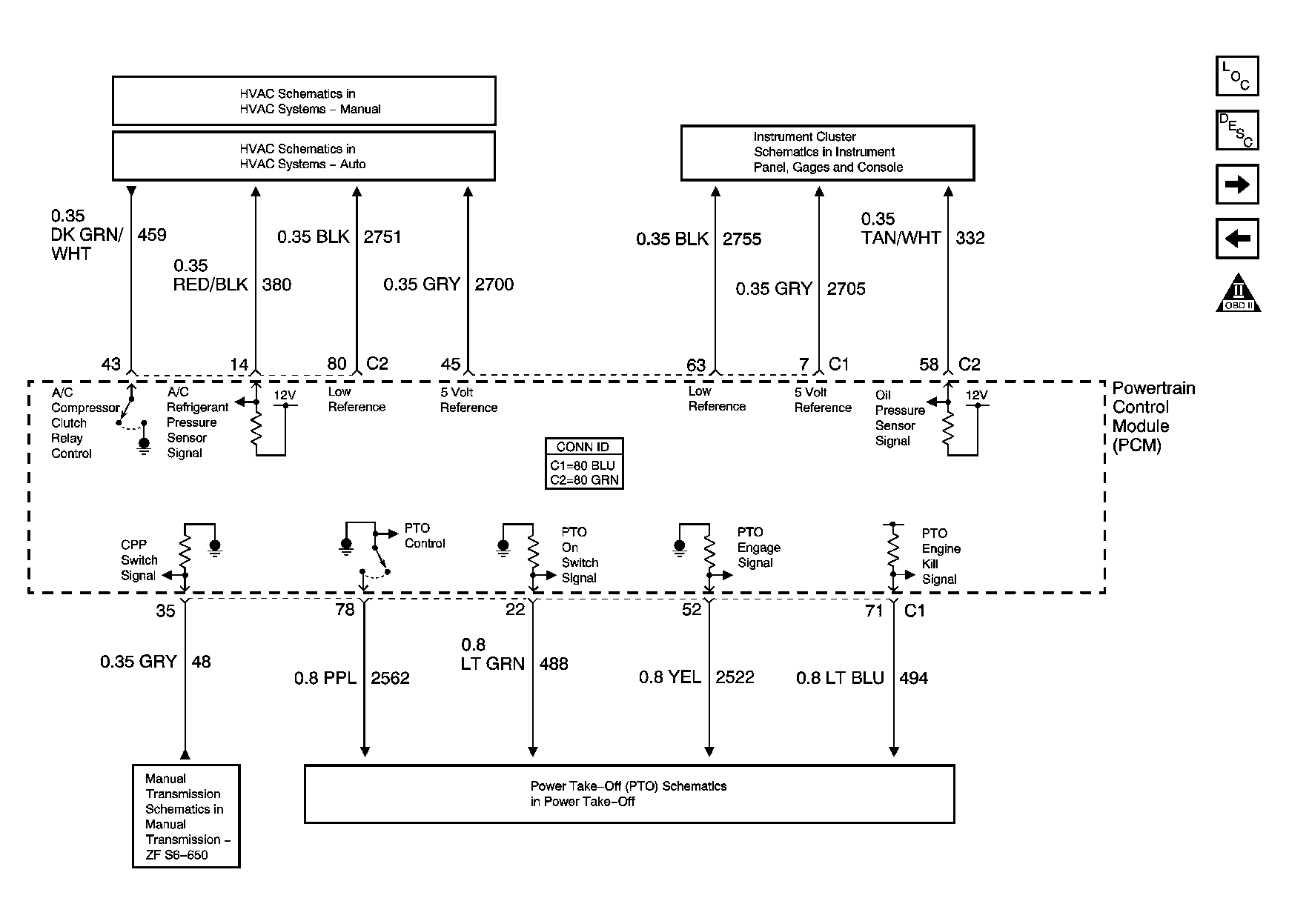
Fig 13: Controlled/Monitored Subsystem References Schematic - 2 of 2
GM1232945Courtesy of GENERAL MOTORS CORP.
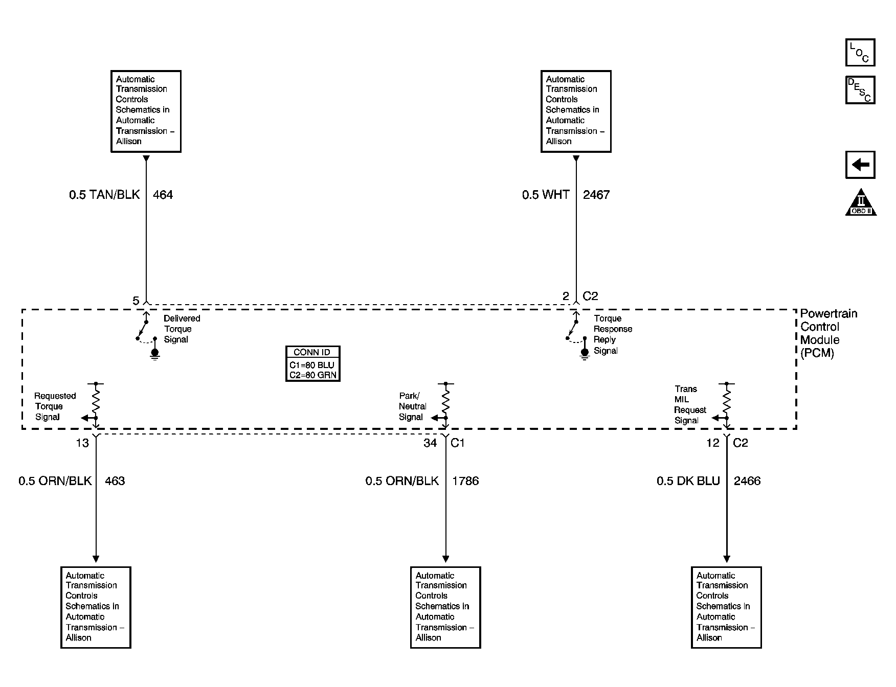
Fig 14: Transmission Controls Schematic - A/T
GM1232946Courtesy of GENERAL MOTORS CORP.