LEMON Manuals: Even more car manuals for everyone: 1960-2025
Home >> Cadillac >> 2007 >> Escalade EXT >> Repair and Diagnosis >> External Pages >> Different car >> Section 381 (Engine Controls - 6.6L (LLY) (Introduction)) >> Component Locator >> Engine Controls Connectors
April 5, 2026: LEMON Manuals is launched! Read the announcement.

Engine Controls Connectors

WARNING: This page is about a different car, the 2004 GMC Sierra, 2004 GMC Cab & Chassis Sierra, 2004 Chevrolet Silverado, and 2004 Chevrolet Cab & Chassis Silverado. However, it is still accessible from the selected car via links, so may be relevant.
Accelerator Pedal Position (APP) Sensor

GM366097Courtesy of GENERAL MOTORS CORP.
Connector Part Information
  • 15318071
  • 10-Way F Metri-Pack 150 Series (GRY)
Pin Wire Color Circuit No. Function
A GRY 1273 Low Reference
B PPL 1272 Low Reference
C LT BLU 1162 APP Sensor 2 Signal
D TAN 1274 5-Volt Reference
E BRN 1271 Low Reference
F DK BLU 1161 APP Sensor 1 Signal
G WHT/BLK 1164 5-Volt Reference
H - - Not Used
J YEL/BLK 1275 5-Volt Reference
K DK GRN 1163 APP Sensor 3 Signal
BARO Sensor

GM684840Courtesy of GENERAL MOTORS CORP.
Connector Part Information
  • 12129946
  • 3-Way F M/P 150 Series Sealed (GRY)
Pin Wire Color Circuit No. Function
A ORN/BLK 1057 Low Reference
B GRY/BLK 433 BARO Sensor Signal
C WHT/BLK 2932 5-Volt Reference
Boost Pressure Sensor

GM684840Courtesy of GENERAL MOTORS CORP.
Connector Part Information
  • 12129946
  • 3-Way F Sealed (GRY)
Pin Wire Color Circuit No. Function
A ORN/BLK 469 Low Reference
B LT GRN 432 Turbocharger Boost Sensor Signal
C GRY 597 5-Volt Reference
Camshaft Position (CMP) Sensor

GM1366572Courtesy of GENERAL MOTORS CORP.
Connector Part Information
  • 6248-5317
  • 3-Way F Sealed (GRY)
Pin Wire Color Circuit No. Function
1 BRN/WHT 633 CMP Sensor Signal
2 PNK/BLK 632 Low Reference
3 RED 631 5-Volt Reference
Crankshaft Position (CKP) Sensor

GM1366572Courtesy of GENERAL MOTORS CORP.
Connector Part Information
  • 6248-5317
  • 3-Way F Sealed (GRY)
Pin Wire Color Circuit No. Function
1 DK BLU/WHT 1869 CKP Sensor Signal
2 YEL/BLK 1868 Low Reference
3 LT GRN 1867 12-Volt Reference
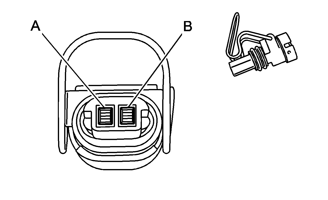
Engine Coolant Temperature (ECT) Sensor

GM655692Courtesy of GENERAL MOTORS CORP.
Connector Part Information
  • 12162192
  • 2-Way Metri-Pack 150.2 Series, Sealed, Pull To Seat (BLK)
Pin Wire Color Circuit No. Function
A GRY 720 Low Reference
B YEL 410 ECT Sensor Signal
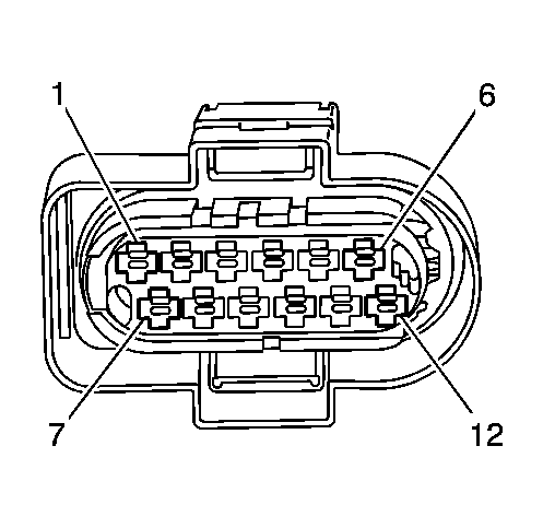
Exhaust Gas Recirculation (EGR) Valve

GM1366573Courtesy of GENERAL MOTORS CORP.
Connector Part Information
  • 6195-0021
  • 6-Way F DL Series Sealed (GRY)
Pin Wire Color Circuit No. Function
A PPL 2703 5-Volt Reference
B YEL/BLK 2754 Low Reference
C DK BLU/WHT 5763 EGR Valve Position Signal
D PNK 5764 EGR Motor High Control
E - - Not Used
F WHT 5746 EGR Motor Low Control
Fuel Heater

GM903274Courtesy of GENERAL MOTORS CORP.
Connector Part Information
  • 7118-3320-30
  • 2-Way F Sealed (BLK)
Pin Wire Color Circuit No. Function
1 PNK 239 Ignition 1 Voltage
2 BLK 50 Ground
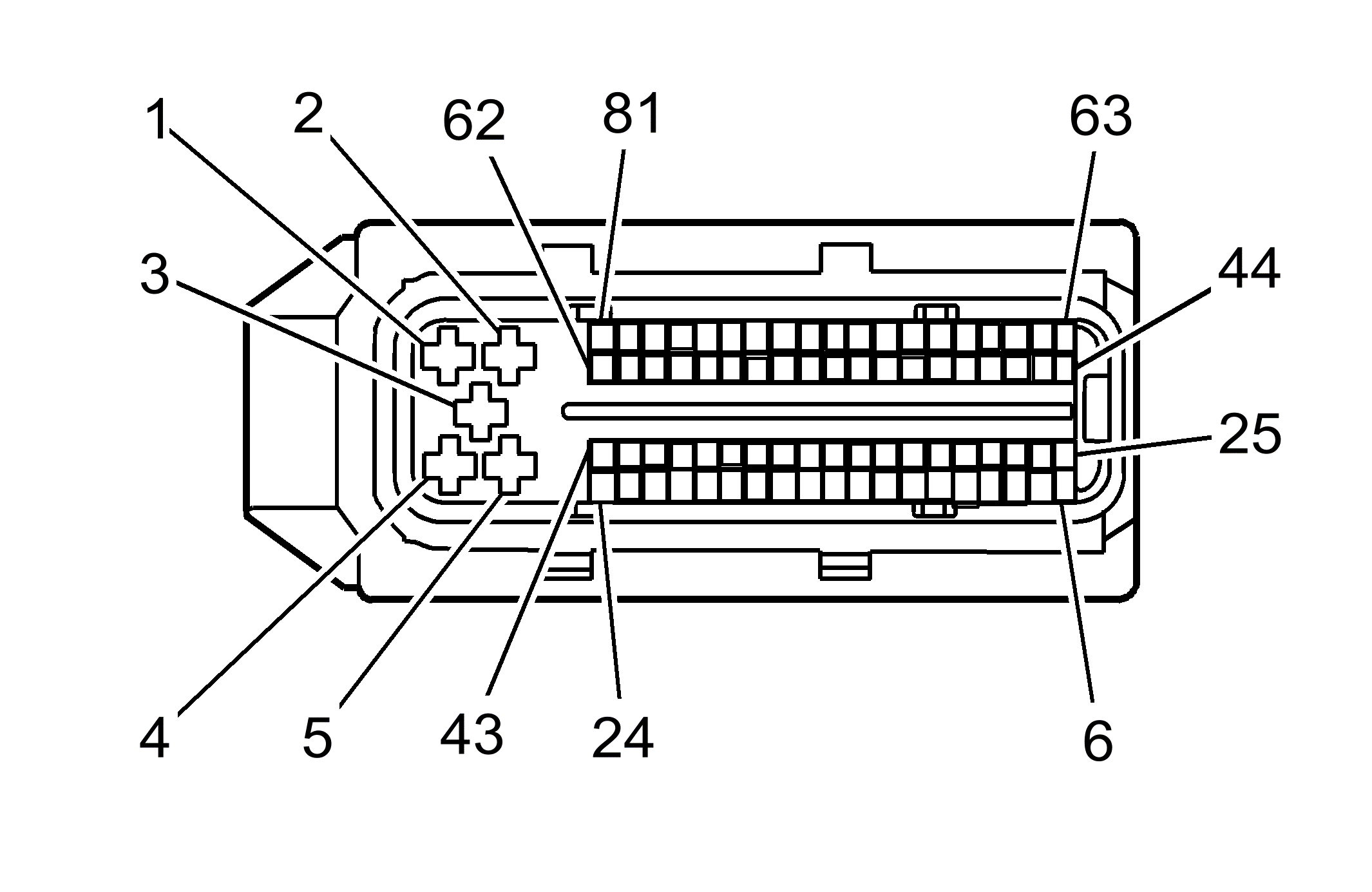
Fuel Injection Control Module (FICM) - C1

GM743315Courtesy of GENERAL MOTORS CORP.
Connector Part Information
  • 1928403454
  • 81-Way F Bosch Series (BLK)
Pin Wire Color Circuit No. Function
1 WHT/LT GRN IC18 Fuel Injector 4 Command
2 YEL/BLK IZ17 Ground
3 ORN IC13 Injector Supply Voltage
4 RED/LT GRN IC15 Fuel Injector 1 Command
5 PNK 339 Ignition 1 Voltage
6-43 - - Not Used
44 LT BLU/BLK 844 Fuel Injector 4 Control
45 BLK/WHT 845 Fuel Injector 5 Control
46 - - Not Used
47 PNK/BLK 1746 Fuel Injector 3 Control
48 RED/BLK 877 Fuel Injector 7 Control
49-58 - - Not Used
59 DK BLU/WHT IC20 Fuel Injector 6 Command
60 DK BLU/WHT IC520 Fuel Injector 6 Command
61 WHT/RED IC21 Fuel Injector 7 Command
62 WHT/RED IC521 Fuel Injector 7 Command
63 DK BLU/WHT 878 Fuel Injector 8 Control
64 YEL/BLK 846 Fuel Injector 6 Control
65 - - Not Used
66 BLK 1744 Fuel Injector 1 Control
67 LT GRN/BLK 1745 Fuel Injector 2 Control
68-81 - - Not Used
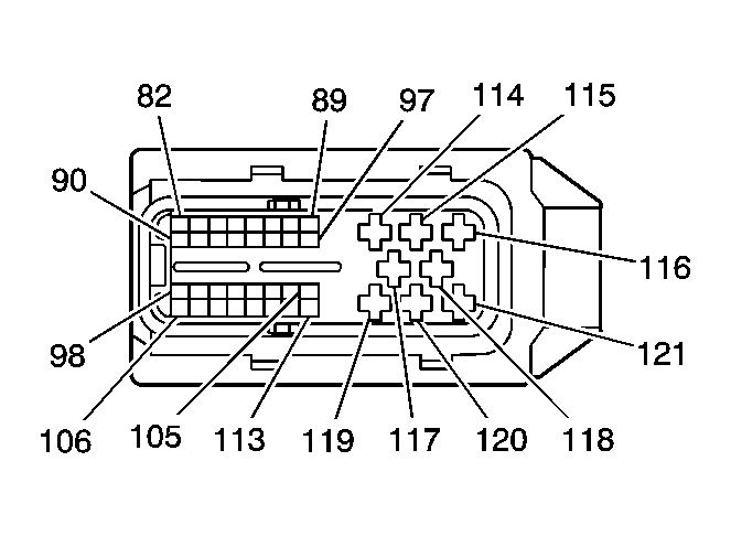
Fuel Injection Control Module (FICM) - C2

GM743317Courtesy of GENERAL MOTORS CORP.
Connector Part Information
  • 1928403462
  • 40-Way F Bosch Series (BLK)
Pin Wire Color Circuit No. Function
82-89 - - Not Used
90 DK GRN 2362 SAE J1939 Serial Data Bus -
91 YEL 2361 SAE J1939 Serial Data Bus +
92-93 - - Not Used
94 LT BLU 2832 Engine Speed Signal
95-113 - - Not Used
114 BLK/GRN IZ18 Ground
115 WHT/LT BLU IC17 Fuel Injector 3 Command
116 RED/LT GRN IC19 Fuel Injector 5 Command
117 - - Not Used
118 RED/WHT IC60 Injector Supply Voltage
119 PNK 339 Ignition 1 Voltage
120 WHT/GRN IC22 Fuel Injector 8 Command
121 WHT/YEL IC16 Fuel Injector 2 Command
Fuel Injector 1

GM784092Courtesy of GENERAL MOTORS CORP.
Connector Part Information
  • 1928403874
  • 2-Way F Sealed (BLK)
Pin Wire Color Circuit No. Function
1 RED/LT GRN IC15 Fuel Injector 1 Command
2 ORN IC13 Injector Supply Voltage
Fuel Injector 2

GM784092Courtesy of GENERAL MOTORS CORP.
Connector Part Information
  • 1928403874
  • 2-Way F Sealed (BLK)
Pin Wire Color Circuit No. Function
1 WHT/YEL IC16 Fuel Injector 2 Command
2 RED/WHT IC14 Injector Supply Voltage
Fuel Injector 3

GM784092Courtesy of GENERAL MOTORS CORP.
Connector Part Information
  • 1928403874
  • 2-Way F Sealed (BLK)
Pin Wire Color Circuit No. Function
1 WHT/BLU IC17 Fuel Injector 3 Command
2 RED/WHT IC60 Injector Supply Voltage
Fuel Injector 4

GM784092Courtesy of GENERAL MOTORS CORP.
Connector Part Information
  • 1928403874
  • 2-Way F Sealed (BLK)
Pin Wire Color Circuit No. Function
1 WHT/LT GRN IC18 Fuel Injector 4 Command
2 ORN IC62 Injector Supply Voltage
Fuel Injector 5

GM784092Courtesy of GENERAL MOTORS CORP.
Connector Part Information
  • 1928403874
  • 2-Way F Sealed (BLK)
Pin Wire Color Circuit No. Function
1 RED/LT GRN IC19 Fuel Injector 5 Command
2 RED/WHT IC61 Injector Supply Voltage
Fuel Injector 6

GM784092Courtesy of GENERAL MOTORS CORP.
Connector Part Information
  • 1928403874
  • 2-Way F Sealed (BLK)
Pin Wire Color Circuit No. Function
1 DK BLU/WHT IC20 Fuel Injector 6 Command
2 ORN IC64 Injector Supply Voltage
Fuel Injector 7

GM784092Courtesy of GENERAL MOTORS CORP.
Connector Part Information
  • 1928403874
  • 2-Way F Sealed (BLK)
Pin Wire Color Circuit No. Function
1 WHT/RED IC21 Fuel Injector 7 Command
2 ORN IC63 Injector Supply Voltage
Fuel Injector 8

GM784092Courtesy of GENERAL MOTORS CORP.
Connector Part Information
  • 1928403874
  • 2-Way F Sealed (BLK)
Pin Wire Color Circuit No. Function
1 WHT/GRN IC22 Fuel Injector 8 Command
2 RED/WHT IC65 Injector Supply Voltage
Fuel Level Sensor - Primary

GM684847Courtesy of GENERAL MOTORS CORP.
Connector Part Information
  • 12160563
  • 2-Way F Metri-Pack 150 Series Sealed (NAT)
Pin Wire Color Circuit No. Function
A PPL 1589 Fuel Level Sensor Signal - Primary
B - C - - Unavailable
D ORN/BLK 510 Low Reference
Fuel Level Sensor - Secondary w/Dual Tanks

GM684847Courtesy of GENERAL MOTORS CORP.
Connector Part Information
  • 12160563
  • 2-Way F Metri-Pack 150 Series Sealed (NAT)
Pin Wire Color Circuit No. Function
A DK BLU 1936 Fuel Level Sensor Signal - Secondary
B - C - - Unavailable
D ORN/BLK 510 Low Reference
Fuel Pressure Regulator

GM1366587Courtesy of GENERAL MOTORS CORP.
Connector Part Information
  • 12059450
  • 3-Way M Sealed (BLK)
Pin Wire Color Circuit No. Function
1 PPL/WHT 2530 Fuel Pressure Regulator Solenoid Supply Voltage
2 YEL 2834 Fuel Pressure Solenoid Control
3 BLK - Shield
Fuel Pressure Sensor

GM1331443Courtesy of GENERAL MOTORS CORP.
Connector Part Information
  • 1928403968
  • 3-Way F Sealed (BLK)
Pin Wire Color Circuit No. Function
1 ORN/BLK 2919 Low Reference
2 YEL 2918 FRP Sensor Signal
3 TAN 2917 5-Volt Reference
Fuel Pump w/Dual Tanks

GM365945Courtesy of GENERAL MOTORS CORP.
Connector Part Information
  • 12059450
  • 2-Way M Metri-Pack 280 Series Sealed (BLK)
Pin Wire Color Circuit No. Function
A GRY 120 Fuel Pump Supply Voltage
B BLK 1650 Ground (20 Series)
BLK 2150 Ground (30 Series)
Fuel Temperature Sensor

GM784094Courtesy of GENERAL MOTORS CORP.
Connector Part Information
  • 178392-6
  • 2-Way F Sealed (GRY)
Pin Wire Color Circuit No. Function
1 YEL 1578 Fuel Temperature Signal
2 BRN 718 Low Reference
Glow Plug Controller - C1

GM1366585Courtesy of GENERAL MOTORS CORP.
Connector Part Information
  • 15443870
  • 1-Way F Sealed (BLK)
Pin Wire Color Circuit No. Function
1 BLK 1042 Battery Positive Voltage
Glow Plug Controller - C2

GM1366583Courtesy of GENERAL MOTORS CORP.
Connector Part Information
  • 60412601 E
  • 12-Way F Sealed (BLK)
Pin Wire Color Circuit No. Function
1 RED/GRN HB11 Glow Plug 1 Supply Voltage
2 WHT/GRN HB12 Glow Plug 2 Supply Voltage
3 RED/WHT HB13 Glow Plug 3 Supply Voltage
4 WHT/YEL HB14 Glow Plug 4 Supply Voltage
5 PNK 239 Ignition 1 Voltage
6 DK GRN 2362 SAE J1939 Serial Data Bus
7 RED/LT GRN HB15 Glow Plug 5 Supply Voltage
8 WHT/LT GRN HB16 Glow Plug 6 Supply Voltage
9 RED/BLU HB17 Glow Plug 7 Supply Voltage
10 WHT/BLU HB18 Glow Plug 8 Supply Voltage
11 PNK/YEL HB03 Ground
12 YEL 2361 SAE J1939 Serial Data Bus +
Intake Air Temperature (IAT)/Mass Air Flow (MAF) Sensor

GM655786Courtesy of GENERAL MOTORS CORP.
Connector Part Information
  • 15324447
  • 5-Way F 090II SLD (BLK)
Pin Wire Color Circuit No. Function
1 BLK 552 Low Reference
2 TAN 472 IAT Sensor Signal
3 PNK 439 Ignition 1 Voltage
4 GRY/BLK 2931 Low Reference
5 YEL 492 MAF Sensor Signal
Turbocharger Vane Position Control Solenoid Valve

GM1366580Courtesy of GENERAL MOTORS CORP.
Connector Part Information
  • PR-IA066070097
  • 2-Way F Sealed (BLK)
Pin Wire Color Circuit No. Function
A DK BLU 5930 Turbocharger Vane Position Control Solenoid Valve
B WHT 5931 Low Reference
Turbocharger Vane Position Sensor

GM1366574Courtesy of GENERAL MOTORS CORP.
Connector Part Information
  • 282088-1
  • 4-Way F Superseal 1.5 Series Sealed (BLK)
Pin Wire Color Circuit No. Function
A TAN 5929 5-Volt Reference
B ORN/BLK 5928 Low Reference
C YEL 5775 Turbocharger Vane Position Sensor Signal
D - - Not Used