LEMON Manuals: Even more car manuals for everyone: 1960-2025
Home >> Cadillac >> 2007 >> Escalade EXT >> Repair and Diagnosis >> External Pages >> Different car >> Section 382 (Engine Controls - 4.3L (Introduction)) >> Repair Instructions >> Distributor Replacement >> Installation Procedure 2
April 5, 2026: LEMON Manuals is launched! Read the announcement.

Installation Procedure 2

WARNING: This page is about a different car, the 2004 GMC Sierra and 2004 Chevrolet Silverado. However, it is still accessible from the selected car via links, so may be relevant.
IMPORTANT: Rotate the number 1 cylinder to top dead center (TDC) of the compression stroke. The engine front cover has 2 alignment tabs and the crankshaft balancer has 2 alignment marks (spaced 90 degrees apart) which are used for positioning the number 1 piston at TDC. With the piston on the compression stroke and at TDC, the crankshaft balancer alignment mark (1) must align with the engine front cover tab (2) and the crankshaft balancer alignment mark (4) must align with the engine front cover tab (3).
  1. Rotate the crankshaft balancer clockwise until the alignment marks on the crankshaft balancer are aligned with the tabs on the engine front cover and the number 1 piston is at TDC of the compression stroke.
  2. Fig 1: View Of Crankshaft Balancer Alignment Mark & Engine Front Cover Alignment Tab
    GM334551Courtesy of GENERAL MOTORS CORP.
  3. Align the white paint mark on the bottom stem of the distributor, with the pre-drilled indent hole in the bottom of the gear (3).
  4. NOTE: The ignition system distributor driven gear and rotor may be installed in multiple positions. In order to avoid mistakes, mark the distributor on the following components in order to ensure the same mounting position upon reassembly:
    • The distributor driven gear
    • The distributor shaft
    • The rotor holes

    Installing the driven gear 180 degrees out of alignment, or locating the rotor in the wrong holes, will cause a no-start condition. Premature engine wear or damage may result.
  5. With the gear in this position, the rotor segment should be positioned as shown for a V6 engine (1).
  6. Fig 2: View Of Gear Pre-drilled Indent Hole & Rotor Segment
    GM301395Courtesy of GENERAL MOTORS CORP.
  7. Using a long screwdriver, align the oil pump drive shaft to the drive tab of the distributor.
  8. Guide the distributor into the engine.

    Ensure that the spark plug towers are perpendicular to the centerline of the engine.

  9. Fig 3: View Of Distributor
    GM34397Courtesy of GENERAL MOTORS CORP.
  10. Once the distributor is fully seated, the rotor segment should be aligned with the pointer cast into the distributor base.
    • This pointer may have a 6 cast into it, indicating that the distributor is to be used on a 6 cylinder engine.
    • If the rotor segment does not come within a few degrees of the pointer, the gear mesh between the distributor and the camshaft may be off a tooth or more.
    • If this is the case, repeat the procedure again in order to achieve proper alignment.
  11. Fig 4: View Of Rotor Segment Aligned With Pointer Cast In Distributor Base
    GM4350Courtesy of GENERAL MOTORS CORP.
  12. Install the distributor hold down bolt.

    Tighten:  Tighten the bolt to 25 N.m (18 lb ft).

  13. Fig 5: View Of Distributor Hold Down Bolt
    GM366609Courtesy of GENERAL MOTORS CORP.
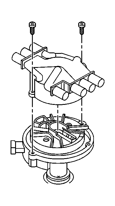
  14. Install the distributor cap.
  15. Install NEW distributor cap screws.

    Tighten:  Tighten the screws to 2.4 N.m (21 lb in).

  16. Fig 6: View Of Distributor Cap
    GM301393Courtesy of GENERAL MOTORS CORP.
  17. Connect the following electrical connectors:
    • CMP sensor (2)
    • Fuel pump/oil pressure sensor (3)
  18. Fig 7: View Of Ground Strap And CMP & Fuel Pump/Oil Pressure Sensor Connectors
    GM782680Courtesy of GENERAL MOTORS CORP.
    IMPORTANT: The coil wire nipple must be positioned such that it is between 35 and 60 degrees aft of perpendicular as referenced from the engine centerline on the outboard side of the coil.
  19. Install the ignition coil wire to the ignition coil and distributor cap.
  20. Fig 8: View Of Ignition Coil Wire Harness
    GM387772Courtesy of GENERAL MOTORS CORP.
  21. If the MIL is ON after installing the distributor, and DTC P1345 is found, the distributor has been installed incorrectly. Repeat installation procedure 2.
  22. If the MIL is not on, install the air cleaner outlet resonator. Refer to Air Cleaner Outlet Resonator Replacement .