LEMON Manuals: Even more car manuals for everyone: 1960-2025
Home >> Cadillac >> 2007 >> Escalade EXT >> Repair and Diagnosis >> External Pages >> Different car >> Section 53 (Engine Controls Self-Diagnostics - 2.2L) >> Connector Identification
April 5, 2026: LEMON Manuals is launched! Read the announcement.

Connector Identification

WARNING: This page is about a different car, the 2003 Pontiac Sunfire, 2003 Pontiac Grand Am, 2003 Oldsmobile Alero, and 2003 Chevrolet Cavalier. However, it is still accessible from the selected car via links, so may be relevant.
NOTE: For CNG related connector identification, see SELF-DIAGNOSTICS - 2.2L CAVALIER - BI-FUEL - CNG/GASOLINE article.
Fig 1: Identifying Crankshaft Position Sensor Harness Connector Terminals
G00121092Courtesy of GENERAL MOTORS CORP.
Fig 2: Identifying ECT Sensor Harness Connector Terminals (Cavalier)
G00121095Courtesy of GENERAL MOTORS CORP.
Fig 3: Identifying ECT Sensor Harness Connector Terminals (Except Cavalier)
G00121094Courtesy of GENERAL MOTORS CORP.
Fig 4: Identifying EVAP Canister Purge Solenoid Harness Connector Terminals (Cavalier)
G00121097Courtesy of GENERAL MOTORS CORP.
Fig 5: Identifying EVAP Canister Purge Solenoid Harness Connector Terminals (Except Cavalier)
G00121096Courtesy of GENERAL MOTORS CORP.
Fig 6: Identifying EVAP Canister Vent Solenoid Harness Connector Terminals (Cavalier)
G00196135Courtesy of GENERAL MOTORS CORP.
Fig 7: Identifying EVAP Canister Vent Solenoid Harness Connector Terminals (Except Cavalier)
G00121098Courtesy of GENERAL MOTORS CORP.
Fig 8: Identifying Fuel Injector No. 1 Harness Connector Terminals
G00196136Courtesy of GENERAL MOTORS CORP.
Fig 9: Identifying Fuel Injector No. 2 Harness Connector Terminals
G00196137Courtesy of GENERAL MOTORS CORP.
Fig 10: Identifying Fuel Injector No. 3 Harness Connector Terminals
G00196138Courtesy of GENERAL MOTORS CORP.
Fig 11: Identifying Fuel Injector No. 4 Harness Connector Terminals
G00196139Courtesy of GENERAL MOTORS CORP.
Fig 12: Identifying Fuel Pump & Sender Assembly Harness Connector Terminals (Alero & Grand Am)
G00127537Courtesy of GENERAL MOTORS CORP.
Fig 13: Identifying Fuel Pump & Sender Assembly Harness Connector Terminals (Cavalier & Sunfire)
G00127538Courtesy of GENERAL MOTORS CORP.
Fig 14: Identifying Fuel Tank Pressure Sensor Harness Connector Terminals (Alero & Grand Am)
G00127539Courtesy of GENERAL MOTORS CORP.
Fig 15: Identifying Fuel Tank Pressure Sensor Harness Connector Terminals (Cavalier & Sunfire)
G00196140Courtesy of GENERAL MOTORS CORP.
Fig 16: Identifying HO2S 1 Harness Connector Terminals (Alero & Grand Am)
G00196142Courtesy of GENERAL MOTORS CORP.
Fig 17: Identifying HO2S 1 Harness Connector Terminals (Cavalier & Sunfire)
G00196141Courtesy of GENERAL MOTORS CORP.
Fig 18: Identifying HO2S 2 Harness Connector Terminals (Alero & Grand Am)
G00127543Courtesy of GENERAL MOTORS CORP.
Fig 19: Identifying HO2S 2 Harness Connector Terminals (Cavalier & Sunfire)
G00127544Courtesy of GENERAL MOTORS CORP.
Fig 20: Identifying IAC Valve Harness Connector Terminals (Alero & Grand Am)
G00127545Courtesy of GENERAL MOTORS CORP.
Fig 21: Identifying IAC Valve Harness Connector Terminals (Cavalier & Sunfire)
G00127546Courtesy of GENERAL MOTORS CORP.
Fig 22: Identifying Ignition Control Module Harness Connector Terminals (Alero & Grand Am)
G00127547Courtesy of GENERAL MOTORS CORP.
Fig 23: Identifying Ignition Control Module Harness Connector Terminals (Cavalier & Sunfire)
G00196143Courtesy of GENERAL MOTORS CORP.
Fig 24: Identifying Intake Air Temperature Sensor Harness Connector Terminals (Alero & Grand Am)
G00127550Courtesy of GENERAL MOTORS CORP.
Fig 25: Identifying Intake Air Temperature Sensor Harness Connector Terminals (Cavalier & Sunfire)
G00127551Courtesy of GENERAL MOTORS CORP.
Fig 26: Identifying Instrument Panel Cluster Harness Connector Terminals (Alero)
G00196145Courtesy of GENERAL MOTORS CORP.
Fig 27: Identifying Instrument Panel Cluster Harness Connector Terminals (Cavalier & Sunfire)
G00132254Courtesy of GENERAL MOTORS CORP.
Fig 28: Identifying Instrument Panel Cluster Harness Connector Terminals (Grand Am)
G00196144Courtesy of GENERAL MOTORS CORP.
Fig 29: Identifying Knock Sensor Harness Connector Terminals
G00196146Courtesy of GENERAL MOTORS CORP.
Fig 30: Identifying MAP Sensor Harness Connector Terminals (Alero & Grand Am)
G00127554Courtesy of GENERAL MOTORS CORP.
Fig 31: Identifying MAP Sensor Harness Connector Terminals (Cavalier & Sunfire)
G00127555Courtesy of GENERAL MOTORS CORP.
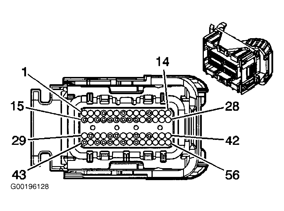
Fig 32: Identifying PCM 56-Pin Harness Connector C1 Terminals
G00196128Courtesy of GENERAL MOTORS CORP.
Fig 33: Identifying PCM Harness Connector C1 Terminals, Wire Color, Circuit No. & Function (Cavalier)
G00196129Courtesy of GENERAL MOTORS CORP.
Fig 34: Identifying PCM Harness Connector C1 Terminals, Wire Color, Circuit No. & Function (Except Cavalier)
G00196131Courtesy of GENERAL MOTORS CORP.
Fig 35: Identifying PCM Harness Connector C2 Terminals (Cavalier - 1 Of 2)
G00196134Courtesy of GENERAL MOTORS CORP.
Fig 36: Identifying PCM Harness Connector C2 Terminals (Cavalier - 2 Of 2)
G00196133Courtesy of GENERAL MOTORS CORP.
Fig 37: Identifying PCM Harness Connector C2 Terminals (Except Cavalier - 1 Of 2)
G00121084Courtesy of GENERAL MOTORS CORP.
Fig 38: Identifying PCM Harness Connector C2 Terminals (Except Cavalier - 2 Of 2)
G00121085Courtesy of GENERAL MOTORS CORP.
Fig 39: Identifying TP Sensor Harness Connector Terminals (Cavalier)
G00196147Courtesy of GENERAL MOTORS CORP.
Fig 40: Identifying TP Sensor Harness Connector Terminals (Except Cavalier)
G00127556Courtesy of GENERAL MOTORS CORP.