LEMON Manuals: Even more car manuals for everyone: 1960-2025
Home >> Cadillac >> 2007 >> Escalade EXT >> Repair and Diagnosis >> External Pages >> Different car >> Section 532 (Cruise Control System) >> Schematic and Routing Diagrams >> Cruise Control Schematics
April 5, 2026: LEMON Manuals is launched! Read the announcement.

Cruise Control Schematics

WARNING: This page is about a different car, the 2004 Chevrolet Corvette. However, it is still accessible from the selected car via links, so may be relevant.
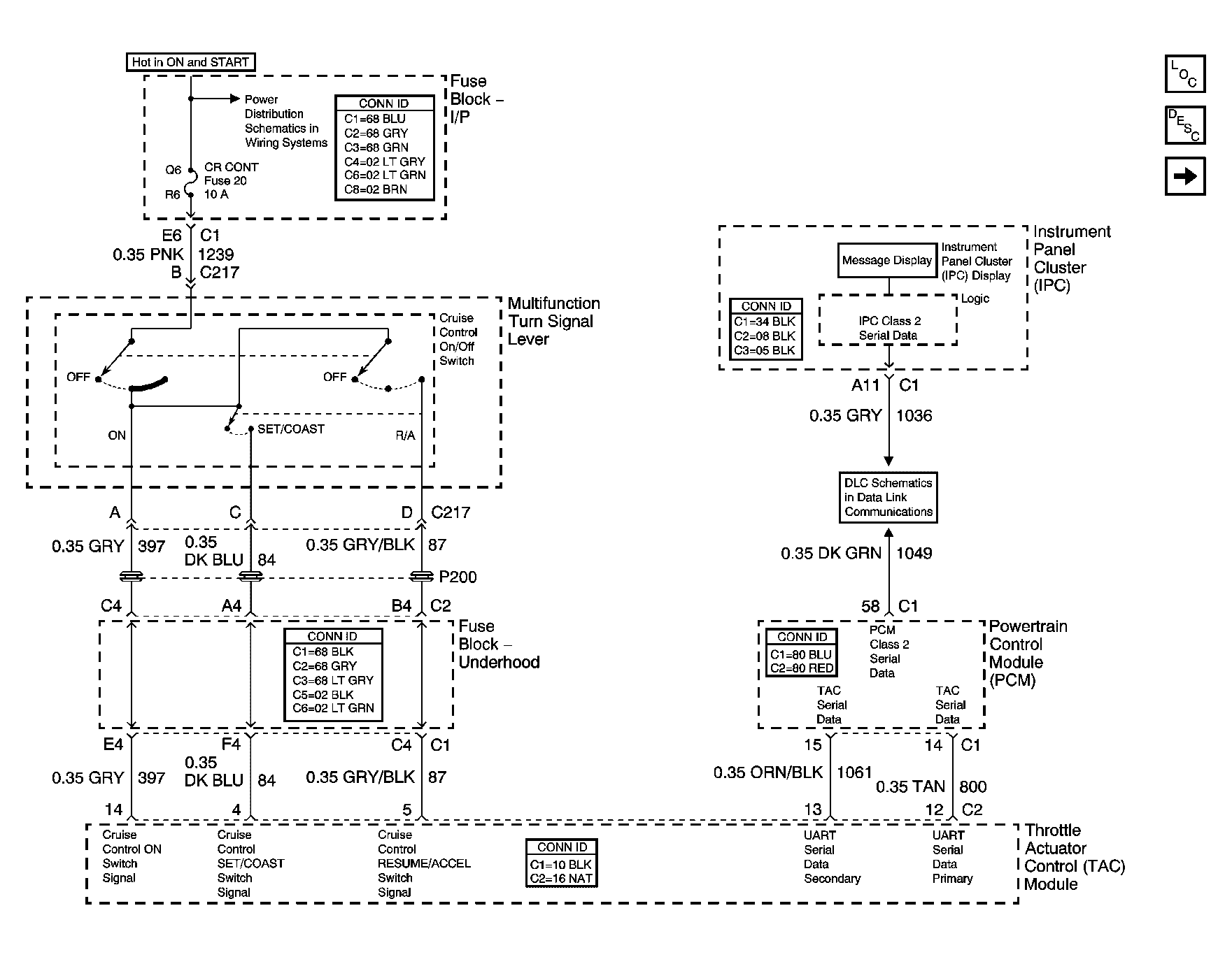
Fig 1: Cruise Control Switch, Throttle Actuator Control Motor And Cruise Control Release Switch Schematic
GM690684Courtesy of GENERAL MOTORS CORP.
Fig 2: Power, Ground And Stop Lamp Switch Schematic
GM690712Courtesy of GENERAL MOTORS CORP.