LEMON Manuals: Even more car manuals for everyone: 1960-2025
Home >> Cadillac >> 2007 >> Escalade EXT >> Repair and Diagnosis >> External Pages >> Different car >> Section 540 (Wiring Systems - Specifications, Component Views And Connector End Views) >> Component Locator >> Power and Grounding Connector End Views >> Cigar Lighter
April 5, 2026: LEMON Manuals is launched! Read the announcement.

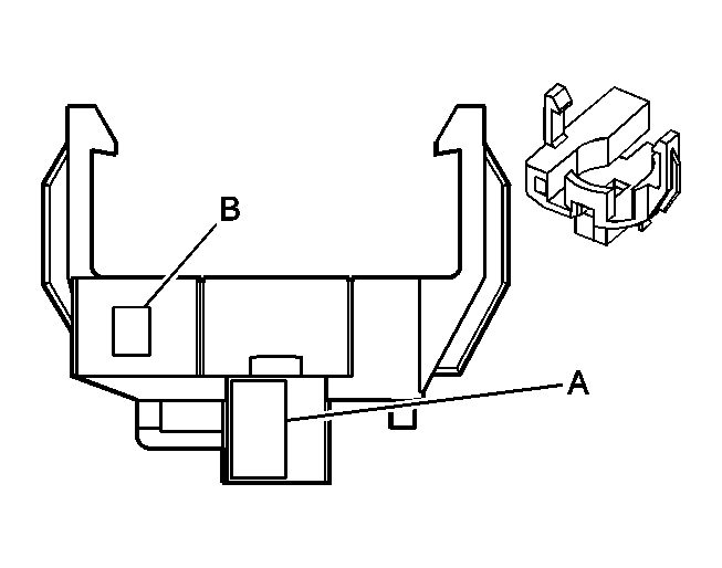
Cigar Lighter

WARNING: This page is about a different car, the 2004 Chevrolet Corvette. However, it is still accessible from the selected car via links, so may be relevant.
Cigar Lighter Terminal Identification

GM38228Courtesy of GENERAL MOTORS CORP.
Connector Part Information
  • 12047699
  • 2-Way Miscellaneous Family Series (GRY)
Pin Wire Color Circuit No. Function
A ORN 840 Battery Positive Voltage
B BLK 150 Ground