LEMON Manuals: Even more car manuals for everyone: 1960-2025
Home >> Cadillac >> 2007 >> Escalade EXT >> Repair and Diagnosis >> External Pages >> Different car >> Section 559 (Supplemental Inflatable Restraint System) >> Component Locator >> SIR Connector End Views
April 5, 2026: LEMON Manuals is launched! Read the announcement.

SIR Connector End Views

WARNING: This page is about a different car, the 2004 Chevrolet Corvette. However, it is still accessible from the selected car via links, so may be relevant.
Inflatable Restraint Terminal Identification I/P Module

GM295469Courtesy of GENERAL MOTORS CORP.
Connector Part Information
  • 12110505
  • 2-Way F Metri-Pack 150 Series (YEL)
Pin Wire Color Circuit No. Function
A WHT/BLK 1403 I/P Module - High Control
B DK GRN/WHT 1404 I/P Module - Low Control
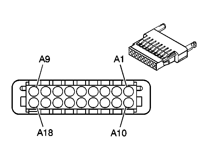
Inflatable Restraint Sensing And Diagnostic Module Terminal Identification (SDM)

GM573987Courtesy of GENERAL MOTORS CORP.
Connector Part Information
  • 15357037
  • 18-Way F Micro-Pack 100 Series Sealed (NAT)
Pin Wire Color Circuit No. Function
A1 YEL 1139 Ignition 1 Voltage
A2 - - Not Used
A3 WHT/BLK 1403 I/P Module - High Control
A4 DK BLU 1128 SDM Class 2 Serial Data
A5 - - Not Used
A6 WHT 347 Steering Wheel Module - High Control
A7 DK GRN 348 Steering Wheel Module - Low Control
A8 DK GRN/WHT 1404 I/P Module - Low Control
A9 PNK 353 I/P Module Suppression Indicator Control
A10 TAN/BLK 371 I/P Module Disable Switch - Signal
A11-A14 - - Not Used
A15 BLK/WHT 238 Seat Belt Switch - Left
A16-A17 - - Not Used
A18 BLK/WHT 851 Ground
Inflatable Restraint I/P Module Disable Switch LED Terminal Identification

GM82383Courtesy of GENERAL MOTORS CORP.
Connector Part Information
  • 12047662
  • 2-Way F Metri-Pack 150 Series (BLK)
Pin Wire Color Circuit No. Function
A LT BLU 1803 I/P Module Suppression Indicator - Supply
B PNK 353 I/P Module Suppression Indicator Control
Inflatable Restraint I/P Module Disable Switch Terminal Identification

GM362753Courtesy of GENERAL MOTORS CORP.
Connector Part Information
  • 15305286
  • 6-Way F Metri-Pack 150 Series (YEL)
Pin Wire Color Circuit No. Function
A TAN/BLK 371 I/P Module Disable Switch - Signal
B YEL 1139 Ignition 1 Voltage
C BRN 9 Park Lamp Supply Voltage
D - - Not Used
E LT BLU 1803 I/P Module Suppression Indicator - Supply
F BLK/WHT 851 Ground