LEMON Manuals: Even more car manuals for everyone: 1960-2025
Home >> Cadillac >> 2007 >> Escalade EXT >> Repair and Diagnosis >> External Pages >> Different car >> Section 682 (Battery, Charging System And Starting System - Introduction) >> Component Locator >> Engine Electrical Connectors
April 5, 2026: LEMON Manuals is launched! Read the announcement.

Engine Electrical Connectors

WARNING: This page is about a different car, the 2006 GMC Sierra, 2006 GMC Cab & Chassis Sierra, 2006 Chevrolet Silverado, and 2006 Chevrolet Cab & Chassis Silverado. However, it is still accessible from the selected car via links, so may be relevant.
Auxiliary Battery Relay (TP2)

GM635009Courtesy of GENERAL MOTORS CORP.
Connector Part Information
  • 12052641
  • 2-Way F Metri-Pack 150 Series (BK)
Pin Wire Color Circuit No. Function
A BN 241 Ignition 3 Voltage
B BK 550 Ground
Battery Cut Off Switch (HP2)

GM1399241Courtesy of GENERAL MOTORS CORP.
Connector Part Information
  • 6189-1046
  • 5-Way F TS Series Sealed (BK)
Pin Wire Color Circuit No. Function
1 WH 1-BCO Ground
2 WH 2-BCO BCO Status
3 WH 3-BCO BCO Control - A
4 WH 4-BCO BCO Control - B
5 WH 5-BCO Battery Positive Voltage
Clutch Pedal Position (CPP) Switch

GM73231Courtesy of GENERAL MOTORS CORP.
Connector Part Information
  • 12064860
  • 6-Way F Metri-Pack 150 Series Sealed (BK)
Pin Wire Color Circuit No. Function
A PU 420 Cruise Control Release Signal
B BN/WH 379 CPP Switch Signal
C PK 639 Ignition 1 Voltage (GAS)
PK 639 Ground (Diesel M/T)
D D-GN 1433 Clutch Start Switch Signal
E BN 441 Ignition 3 Voltage
F GY 48 CPP Switch Signal
Current Sensor (HP2)

GM814536Courtesy of GENERAL MOTORS CORP.
Connector Part Information
  • 174966-2
  • 4-Way F Multilock Series (BK)
Pin Wire Color Circuit No. Function
1 WH 1-CS Current Sensor Signal - A
2 WH 2-CS Current Sensor Signal - B
3 WH 3-CS Compensating Coil Voltage
4 WH 4-CS Low Reference
Energy Storage Box (ESB) Fan (HP2)

GM1459284Courtesy of GENERAL MOTORS CORP.
Connector Part Information
  • 163120-0
  • 4-Way F (BK)
Pin Wire Color Circuit No. Function
1 WH 1-FAN Fan Speed Signal
2 WH 2-FAN Low Reference
3 - - Not Used
4 WH 4-FAN 5-Volt Reference
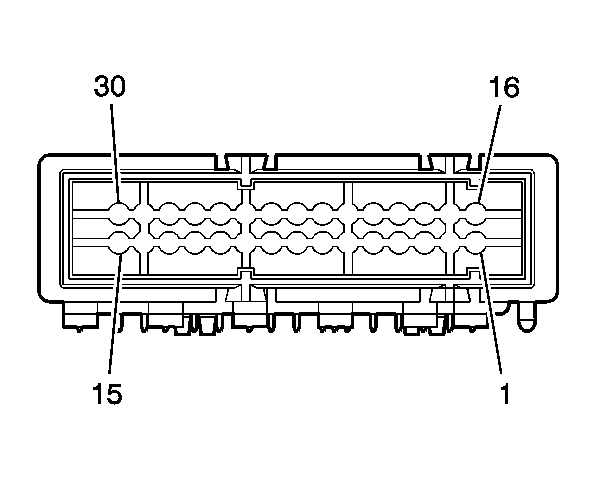
Energy Storage Control Module (ESCM) - C1 (HP2)

GM1457326Courtesy of GENERAL MOTORS CORP.
Connector Part Information
  • 967224-C1
  • 30-Way F (BK)
Pin Wire Color Circuit No. Function
1 WH 1-NTC-1 Temperature Sensor Signal - 1
2 WH 1-NTC-2 Temperature Sensor Signal - 2
3-7 - - Not Used
8 WH 2-BCO BCO Control - A
9 WH 4-BCO BCO Control - B
10 WH 2-BCO BCO Status
11 WH 1-BCO Ground
12 WH 2-CS Current Sensor Signal - B
13 WH 3-CS Compensating Coil Voltage
14 WH 5-BCO Battery Positive Voltage
15 WH 2-FAN Low Reference
16 - - Not Used
17 WH 2-NTC-2 Low Reference
18 WH 2-NTC-1 Low Reference
19 WH 2-NTC-3 Low Reference
20 WH 1-NTC-3 Temperature Sensor Signal - 3
21 WH 1-R2 Voltage Sensor Signal - 2
22 - - Not Used
23 WH 1-R1 Voltage Sensor Signal - 1
24 WH 1-R4 Voltage Sensor Signal - 4
25 WH 1-R3 Voltage Sensor Signal - 3
26 - - Not Used
27 WH 1-CS Current Sensor Signal - A
28 WH 4-CS Low Reference
29 WH 4-FAN 5-Volt Reference
30 WH 1-FAN Fan Speed Signal
Energy Storage Control Module (ESCM) - C2 (HP2)

GM1457328Courtesy of GENERAL MOTORS CORP.
Connector Part Information
  • 967224-C2
  • 48-Way F (BK)
Pin Wire Color Circuit No. Function
1-14 - - Not Used
15 WH 1-CAR High Speed GMLAN Serial Data (+)
16-17 - - Not Used
18 WH 7-CAR Ignition 1 Voltage
19-23 - - Not Used
24 WH GND-CAR Ground
25-38 - - Not Used
39 WH 2-CAR High Speed GMLAN Serial Data (-)
40-41 - - Not Used
42 WH 8-CAR Ignition 0 Voltage
43-47 - - Not Used
48 WH 3-CAR Battery Positive Voltage
Energy Storage Control Module (ESCM) - C3 (HP2)

GM1457330Courtesy of GENERAL MOTORS CORP.
Connector Part Information
  • 967224-C2
  • 2-Way F (BK)
Pin Wire Color Circuit No. Function
L-H - - Not Used
Generator - Gas (10 Series Except HP2)

GM1522871Courtesy of GENERAL MOTORS CORP.
Connector Part Information
  • 12186308
  • 2-Way F JPT Sealed (BK)
Pin Wire Color Circuit No. Function
1 BN 25 Charge Indicator Control
2 GY 23 Generator Field Duty Cycle Signal
Generator - Gas (6.0L w/MT1)

GM697046Courtesy of GENERAL MOTORS CORP.
Connector Part Information
  • 12186568
  • 4-Way F Metri-Pack 150 Series Sealed (BK)
Pin Wire Color Circuit No. Function
A D-BU 5668 Engine On Signal (JC4)
- - Not Used
B BN 25 Charge Indicator Control
C GY 23 Generator Field Duty Cycle Signal
D - - Not Used
Generator (20/30 Series)

GM647991Courtesy of GENERAL MOTORS CORP.
Connector Part Information
  • 15355066
  • 2-Way F Metri-Pack 150 Series Sealed (BG)
Pin Wire Color Circuit No. Function
A - - Unavailable
B BN 25 Charge Indicator Control
C GY 23 Generator Field Duty Cycle Signal
D - - Unavailable
Generator - Left (K65/8X5)

GM696955Courtesy of GENERAL MOTORS CORP.
Connector Part Information
  • 12186566
  • 1-Way F Metri-Pack 150 Series Sealed (NA)
Pin Wire Color Circuit No. Function
A - - Unavailable
B BN 2524 Generator 2 Turn On Signal
C-D - - Unavailable
Generator - Right - Diesel

GM647991Courtesy of GENERAL MOTORS CORP.
Connector Part Information
  • 15355066
  • 2-Way F Metri-Pack 150 Series Sealed (BG)
Pin Wire Color Circuit No. Function
A - - Unavailable
B BN 25 Charge Indicator Control
C GY 23 Generator Field Duty Cycle Signal
D - - Unavailable
Generator Battery Control Module - (10 Series Except HP2)

GM632344Courtesy of GENERAL MOTORS CORP.
Connector Part Information
  • 15326842
  • 10-Way F GT 150 Series Sealed (BK)
Pin Wire Color Circuit No. Function
A RD/WH 4740 Battery Positive Voltage
B - - Not Used
C RD/WH 4740 Battery Positive Voltage
D BN 25 Charge Indicator Control
E - - Not Used
F BK/WH 451 Ground
G D-BU 5668 Engine On Signal (JC4)
H BK/WH 451 Ground
J - - Not Used
K OG/BK 6752 Class 2 Serial Data
Hood Ajar Switch (HP2)

GM523630Courtesy of GENERAL MOTORS CORP.
Connector Part Information
  • 15326801
  • 2-Way F GT 150 (BK)
Pin Wire Color Circuit No. Function
A PK/BK 109 Hood Ajar Switch Signal
B OG/BK 1057 Low Reference
Hybrid Control Module (HCM) (HP2)

GM1228485Courtesy of GENERAL MOTORS CORP.
Connector Part Information
  • 15430224
  • 56-Way F Micro-Pack 64 Series Sealed (BU)
Pin Wire Color Circuit No. Function
1 OG 1940 Battery Positive Voltage
2 PK 1020 Ignition 0 Voltage
3-7 - - Not Used
8 PK/BK 109 Hood Ajar Switch Signal
9 PU 5681 APO Switch Signal
10-11 - - Not Used
12 PK 1939 Ignition 1 Voltage
13-27 - - Not Used
28 PU/WH 5687 Class 2 Serial Data
29 BK/WH 451 Ground
30-33 - - Not Used
34 OG/BK 1057 Low Reference
35-39 - - Not Used
40 TN/WH 2500 High Speed GMLAN Serial Data (+)
41 TN 2501 High Speed GMLAN Serial Data (-)
42 - - Not Used
43 BK/WH 451 Ground
44 - - Not Used
45 YE 5680 APO Switch Indicator Control
46-47 - - Not Used
48 PK/WH 5537 Transmission Pump Relay Control
49 PU/WH 5539 Power Maintain Relay Coil Control
50 - - Not Used
51 WH 5542 Auxiliary Heater Pump Relay Control
52 BN/WH 5682 Low Reference
53 - - Not Used
54 TN/WH 2500 High Speed GMLAN Serial Data (+)
55 TN 2501 High Speed GMLAN Serial Data (-)
56 - - Not Used
Starter/Generator Control Module SGCM - C1 (HP2)

GM1374873Courtesy of GENERAL MOTORS CORP.
Connector Part Information
  • 15416791
  • 2-Way F Series Sealed (BK)
Pin Wire Color Circuit No. Function
A-B - - Not Used
Starter/Generator Control Module SGCM - C2 (HP2)

GM1374874Courtesy of GENERAL MOTORS CORP.
Connector Part Information
  • 15416792
  • 2-Way F Series Sealed (BK)
Pin Wire Color Circuit No. Function
A BK 50 Ground
B RD 102 Battery Positive Voltage
Starter/Generator Control Module SGCM - C3 (HP2)

GM1374872Courtesy of GENERAL MOTORS CORP.
Connector Part Information
  • 15416789
  • 2-Way F Series Sealed (BK)
Pin Wire Color Circuit No. Function
A RD 5084 High Voltage Battery (+)
B BK 5691 High Voltage Battery (-)
Starter/Generator Control Module SGCM - C4 (HP2)

GM39784Courtesy of GENERAL MOTORS CORP.
Connector Part Information
  • 12129225
  • 24-Way F Micro-Pack 100 Series Sealed (WH)
Pin Wire Color Circuit No. Function
1 TN/WH 2500 High Speed GMLAN Serial Data (+)
2 TN/WH 2500 High Speed GMLAN Serial Data (+)
3-6 - - Not Used
7 YE/BK 625 Starter Enable Relay Control
8 PK 1020 Ignition 0 Voltage
9 L-BU/BK 647 Medium Resolution Engine Speed Signal
10-11 - - Not Used
12 WH 2368 Cooling Fan Clutch Supply Voltage
13 TN 2501 High Speed GMLAN Serial Data (-)
14 TN 2501 High Speed GMLAN Serial Data (-)
15-20 - - Not Used
21 WH 121 Engine Speed Signal
22-23 - - Not Used
24 PK 2014 Coolant Pump Relay Control
Starter/Generator Control Module SGCM - C5 (HP2)

GM1391786Courtesy of GENERAL MOTORS CORP.
Connector Part Information
  • 15416860
  • 7-Way F GT 280/150 Series Sealed (BK)
Pin Wire Color Circuit No. Function
A - - Not Used
B WH 5685 APO Neutral
C OG 5595 High Voltage Interlock Loop Signal - 2
D BK 50 Ground
E PU 5087 High Voltage Interlock Loop Signal - 1
F D-GN 5686 Ground
G BK 5683 APO Phase A
Temperature Sensor - Battery 1 (HP2)

GM1459283Courtesy of GENERAL MOTORS CORP.
Connector Part Information
  • 1-968699-1
  • 2-Way F (BK)
Pin Wire Color Circuit No. Function
1 WH 1-NTC-1 Temperature Sensor Signal - 1
2 WH 2-NTC-1 Low Reference
Temperature Sensor - Battery 2 (HP2)

GM1459283Courtesy of GENERAL MOTORS CORP.
Connector Part Information
  • 1-968699-1
  • 2-Way F (BK)
Pin Wire Color Circuit No. Function
1 WH 1-NTC-2 Temperature Sensor Signal - 2
2 WH 2-NTC-2 Low Reference
Temperature Sensor - Battery 3 (HP2)

GM1459283Courtesy of GENERAL MOTORS CORP.
Connector Part Information
  • 1-968699-1
  • 2-Way F (BK)
Pin Wire Color Circuit No. Function
1 WH 1-NTC-3 Temperature Sensor Signal - 3
2 WH 2-NTC-3 Low Reference
Voltage Sensor - 1 (HP2)

GM1399242Courtesy of GENERAL MOTORS CORP.
Connector Part Information
  • 925324-2
  • 1-Way F (WH)
Pin Wire Color Circuit No. Function
A WH 1-R1 Voltage Sensor Signal - 1
Voltage Sensor - 2 (HP2)

GM1399242Courtesy of GENERAL MOTORS CORP.
Connector Part Information
  • 925324-2
  • 1-Way F (WH)
Pin Wire Color Circuit No. Function
A WH 1-R2 Voltage Sensor Signal - 2
Voltage Sensor - 3 (HP2)

GM1399242Courtesy of GENERAL MOTORS CORP.
Connector Part Information
  • 925324-2
  • 1-Way F (WH)
Pin Wire Color Circuit No. Function
A WH 1-R3 Voltage Sensor Signal - 3
Voltage Sensor - 4 (HP2)

GM1399242Courtesy of GENERAL MOTORS CORP.
Connector Part Information
  • 925324-2
  • 1-Way F (WH)
Pin Wire Color Circuit No. Function
A WH 1-R4 Voltage Sensor Signal - 4