LEMON Manuals: Even more car manuals for everyone: 1960-2025
Home >> Cadillac >> 2007 >> Escalade EXT >> Repair and Diagnosis >> External Pages >> Different car >> Section 811 (Battery, Charging System And Starting System) >> Component Locator >> Engine Electrical Connector End Views >> Starter Relay (w/ L66)
April 5, 2026: LEMON Manuals is launched! Read the announcement.

Starter Relay (w/ L66)

WARNING: This page is about a different car, the 2007 Saturn Vue. However, it is still accessible from the selected car via links, so may be relevant.
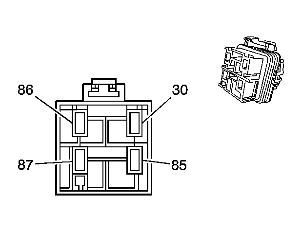
Fig 1: Starter Relay (w/ L66) Connector End Views
GM1332345Courtesy of GENERAL MOTORS CORP.
Starter Relay (w/ L66) Connector Parts Information

Connector Part Information 
  • OEM: 13008060
  • Service: See Catalog
  • Description: 4-Way F (GY)
Starter Relay (w/ L66) Connector Terminal Identification

Pin Wire Color Circuit No. Function
30 BK/WH 6 Starter Solenoid Crank Voltage
85 YE 5 Crank Voltage
86 BU/WH 1786 Park/Neutral Signal
87 YE 5 Crank Voltage