LEMON Manuals: Even more car manuals for everyone: 1960-2025
Home >> Cadillac >> 2007 >> Escalade EXT >> Repair and Diagnosis >> Steering >> Power Steering System >> Component Locator >> Power Steering Gear Disassembled View
April 5, 2026: LEMON Manuals is launched! Read the announcement.

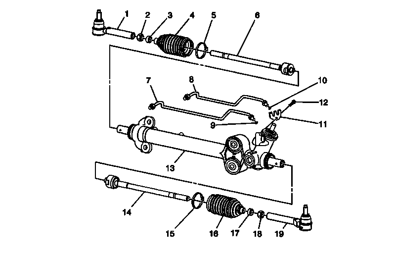
Power Steering Gear Disassembled View

Fig 1: Power Steering Gear Components
GM1744472Courtesy of GENERAL MOTORS CORP.
Callout Component Name
1 Outer Tie Rod
2 Hexagon Jam Nut
3 Tie Rod End Clamp
4 Rack and Pinion Boot
5 Boot Clamp
6 Inner Tie Rod
7 Cylinder Line - LT
8 Cylinder Line - RH
9 O-Ring Seal
10 O-Ring Seal
11 Cylinder Line Retaining Plate
12 External TORX® Screw
13 Rack and Pinion Gear Assembly
14 Inner Tie Rod
15 Boot Clamp
16 Rack and Pinion Boot
17 Tie Rod End Clamp
18 Hexagon Jam Nut
19 Outer Tie Rod