LEMON Manuals: Even more car manuals for everyone: 1960-2025
Home >> Cadillac >> 2007 >> Escalade EXT >> Repair and Diagnosis >> Steering >> Power Steering System >> Repair Instructions >> Power Steering Pulley Replacement >> Installation Procedure
April 5, 2026: LEMON Manuals is launched! Read the announcement.

Installation Procedure

    Fig 1: View Of Power Steering Pump Pulley Installer
    GM643361Courtesy of GENERAL MOTORS CORP.
  1. Place the power steering pump pulley on the end of the power steering pump shaft.
  2. Install the power steering pump pulley using J 25033-C  . See Special Tools .
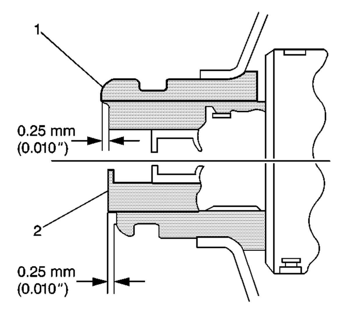
  3. Fig 2: Checking Power Steering Pump Pulley Installed Depth
    GM245012Courtesy of GENERAL MOTORS CORP.
  4. Ensure that the power steering pump pulley (1) is flush against the power steering pump shaft (2), with an allowable variance of 0.25 mm (0.010 in).
  5. Install the accessory drive belt. Refer to Drive Belt Replacement - Accessory .
  6. Install the upper fan shroud, if equipped. Refer to Fan Shroud Replacement - Upper .