LEMON Manuals: Even more car manuals for everyone: 1960-2025
Home >> Cadillac >> 2007 >> SRX AWD V8-4.6L >> Repair and Diagnosis >> Diagrams >> Connector Views >> Body Control Module
April 5, 2026: LEMON Manuals is launched! Read the announcement.

Body Control Module



Data Communication Connector End Views

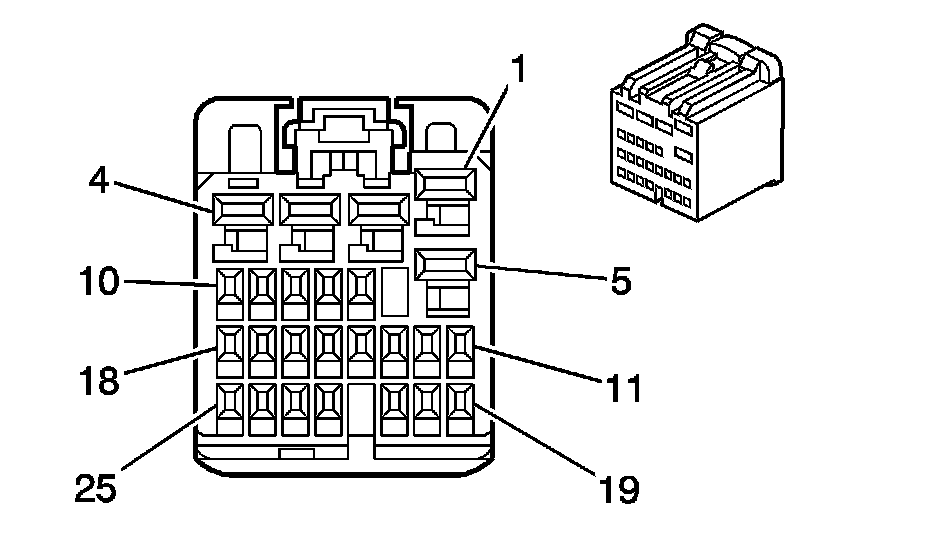
Body Control Module (BCM) C1














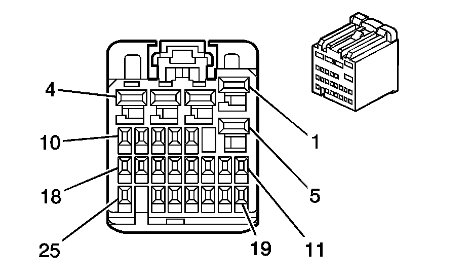
Body Control Module (BCM) C2














Body Control Module (BCM) C3














Body Control Module (BCM) C4














Body Control Module (BCM) C5














Body Control Module (BCM) C6














Body Control Module (BCM) C7














Rear Body Control Module (EXPORT) C1














Rear Body Control Module (RHD) C2