LEMON Manuals: Even more car manuals for everyone: 1960-2025
Home >> Cadillac >> 2007 >> STS AWD V8-4.6L >> Repair and Diagnosis >> Windows and Glass >> Windows >> Locations
April 5, 2026: LEMON Manuals is launched! Read the announcement.

Windows: Locations



Window Systems Component Views

Driver Door Components




1 - Driver Door Switch Assembly (DDSA)
2 - Door Lock Switch - Driver
3 - Mirror Switches
4 - Outside Rearview Mirror - Driver
5 - Window Motor - Driver
6 - Driver Door Module (DDM)
7 - Courtesy Lamp - Left Front Door
8 - Rear Compartment Lid Release Switch - Interior
9 - Door Latch Assembly - Driver
10 - Door Status Indicator - Driver

Front Passenger Door Components




1 - Outside Rearview Mirror - Passenger
2 - Window Switch - Front Passenger
3 - Door Status Indicator - Passenger
4 - Door Latch Assembly - Passenger
5 - Courtesy Lamp - Right Front Door
6 - Front Passenger Door Module (FPDM)
7 - Speaker - LF Door (UXP/UY5)
8 - Window Motor - Front Passenger
9 - Door Lock Switch - Passenger

LR Door Components




1 - Door Latch Assembly - Left Rear
2 - Window Switch - Left Rear
3 - Speaker - LR Door
4 - Courtesy Lamp - Left Rear Door
5 - Left Rear Door Module
6 - Window Motor - Left Rear

RR Door Components




1 - Window Switch - Right Rear
2 - Door Latch Assembly - Right Rear
3 - Right Rear Door Module (RRDM)
4 - Courtesy Lamp - Right Rear Door
5 - Speaker - RR Door
6 - Window Motor - Right Rear

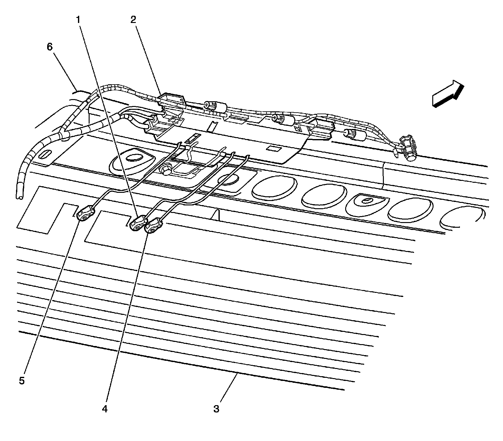
Top of Rear Window (UE1/U2K)




1 - VICS-FM3 Antenna
2 - Radio Antenna Module
3 - Rear Window Defogger Grid
4 - AM/FM 1 Antenna
5 - FM 2 Antenna
6 - Roof Rail