LEMON Manuals: Even more car manuals for everyone: 1960-2025
Home >> Cadillac >> 2007 >> STS Base, 3.6 7, AWD >> Repair and Diagnosis (Single Page) >> Body & Frame >> Windows >> Fixed & MOVEABLE Window Systems >> Component Locator >> Window Systems Connector End Views >> Window Motor - Driver
April 5, 2026: LEMON Manuals is launched! Read the announcement.

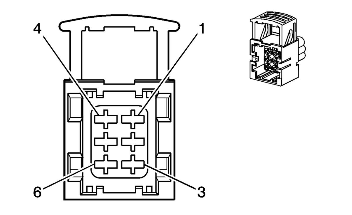
Window Motor - Driver

Fig 1: Window Motor - Driver Connector End View
GM1519711Courtesy of GENERAL MOTORS CORP.
Window Motor - Driver Connector Parts Information

Connector Part Information 
  • OEM: 2-1452319-1
  • Service: See Catalog
  • Description: 6-Way F AMP WP (GY)
Terminal Part Information 
  • Pins: 1, 2, 3
  • Terminal/Tray: 4-964286-1/16
  • Core/Insulation Crimp: E/1
  • Release Tool/Test Probe: 12093647/J-35616-4A (PU)
  • Pins: 4, 6
  • Terminal/Tray: 4-964273-1/15
  • Core/Insulation Crimp: C/5
  • Release Tool/Test Probe: 12093647/J-35616-4A (PU)
Window Motor - Driver Connector Terminal Identification

Pin Wire Color Circuit No. Function
1 BN 165 Power Window Motor Left Front Down Signal
2 D-BU 164 Power Window Motor Left Front Up Signal
3 YE/BK 6859 Power Window Status
4 BK 350 Ground
5 - - Not Used
6 RD/WH 1040 Battery Positive Voltage