LEMON Manuals: Even more car manuals for everyone: 1960-2025
Home >> Cadillac >> 2007 >> STS Base, 4.6 A, AWD >> Repair and Diagnosis >> Quick Lookups >> Wiring Diagrams >> OEM Connector End Views - Antilock Brake System, Remote Function, Steering Wheel And Column, Engine Control Module, Engine Controls, Entertainment/Communication >> Steering Wheel and Column Connector End Views >> Tilt Actuator Connector End View C1
April 5, 2026: LEMON Manuals is launched! Read the announcement.

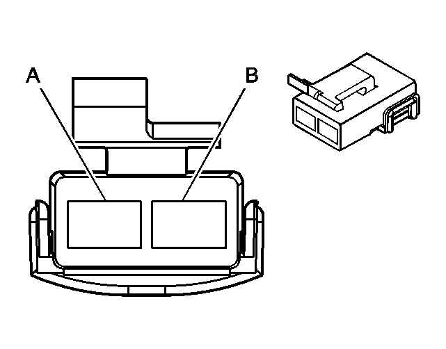
Tilt Actuator Connector End View C1

Fig 1: Tilt Actuator C1 Connector End View
GM130706Courtesy of GENERAL MOTORS CORP.
Tilt Actuator C1 Connector Parts Information

Connector Part Information 
  • OEM: 12052110
  • Service: 12102768
  • Description: 2-Way F Metri-Pack 480 Series (BK)
Terminal Part Information 
  • Terminal/Tray: See Terminal Repair Kit
  • Core/Insulation Crimp: See Terminal Repair Kit
  • Release Tool/Test Probe: See Terminal Repair Kit
Tilt Actuator C1 Connector End View

Pin Wire Color Circuit No. Function
A RD 2111 Steering Column Tilt Motor Up Control
B BN 2112 Steering Column Tilt Motor Down Control