LEMON Manuals: Even more car manuals for everyone: 1960-2025
Home >> Cadillac >> 2007 >> STS RWD V8-4.6L >> Repair and Diagnosis >> Powertrain Management >> Computers and Control Systems >> Relays and Modules - Computers and Control Systems >> Engine Control Module >> Diagrams >> Connector Views
April 5, 2026: LEMON Manuals is launched! Read the announcement.

Connector Views



Engine Control Module Connector End Views

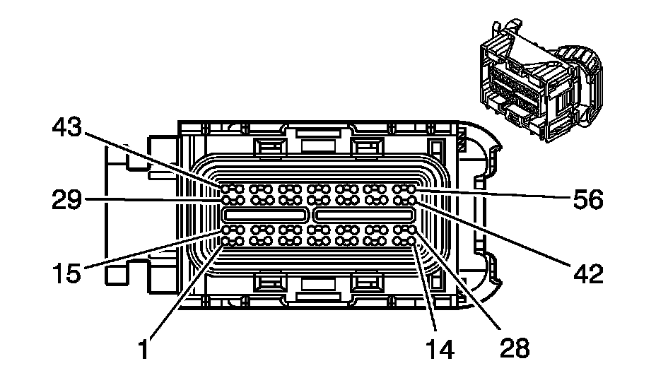
Engine Control Module (ECM) C1














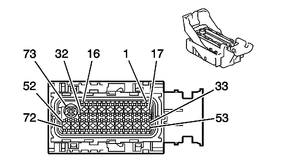
Engine Control Module (ECM) C2









Engine Control Module (ECM) C2 (Pin 1 To 46):





Engine Control Module (ECM) C2 (Pin 47 To 73):






Engine Control Module (ECM) C3