LEMON Manuals: Even more car manuals for everyone: 1960-2025
Home >> Cadillac >> 2007 >> STS V >> Repair and Diagnosis (Single Page) >> Quick Lookups >> Electrical Component Locations >> Component Locations And Power, Ground And Splice Pack Connector End Views >> Electrical Center Identification Views >> Fuse Block - Left Rear Label >> Notes
April 5, 2026: LEMON Manuals is launched! Read the announcement.

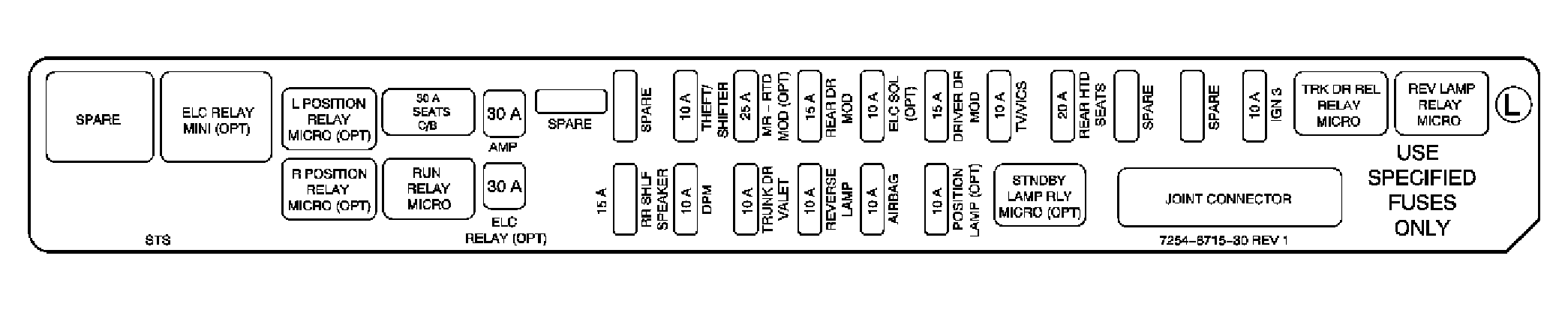
Fuse Block - Left Rear Label: Notes

Fig 1: Left Rear Fuse Block Label
GM1580270Courtesy of GENERAL MOTORS CORP.
Fuse Block - Left Rear Label Usage

Device Rating Description
AIRBAG Fuse 10A Sensing and Diagnostic Module
AMP Fuse 30A Audio Amplifier
DPM Fuse 10A Cooled Seat Blower Motor-Driver Cushion, Memory Seat Module (MSM), Lumbar Adjuster Switch - Driver, Seat Adjuster Switch - Driver, Cooled Seat Blower Motor - Driver Back
DRIVER DR MOD Fuse 10A Driver Door Module, Speaker - LF Door Subwoofer
ELC Relay Fuse 30A Automatic Level Control Compressor Relay
ELC Relay - Automatic Level Control Compressor
ELC SOL Fuse 10A Automatic Level Control Compressor
IGN 3 Fuse 10A Auto Transmission Shifter, Climate Control Seat Module - Passenger (w/KA1), Seat Belt Retractor - LF and RF
Joint Connector - Not Used
L POSITION Relay Micro (opt) - Fuse Block Underhood, Cornering/Side Marker Lamp - LR, Turn Signal/Multifunction Switch
MR-RTD MOD Fuse (opt) 25A Electronic Suspension Control (ESC) Module
POSITION LAMPS Fuse (opt) 10A R POS LP Relay (Export) and L POS LP Relay (Export)
R POSITION Relay Micro (opt) - Fuse Block Underhood, Cornering/Side Marker Lamp - RR, Turn Signal/Multifunction Switch
REAR DR MOD Fuse 15A Left Rear Door Module (LRDM) and Right Rear Door Module (RRDM)
REAR HTD SEATS Fuse 20A Rear Heated Seat Module (w/KA6)
RR SHLF SPEAKER Fuse 15A Speaker - Rear Subwoofer
REV LAMP Relay Micro - Back Up Lamps, Rear Parking Assist (RPA) and Inside Rearview Mirror
REVERSE LAMP Fuse 10A REV LAMP Relay
RUN RELAY Micro - IGN3 Fuse, REAR HTD SEATS Fuse, Spare Fuse, Spare Fuse
SEATS C/B 30A Memory Seat Module - Driver, Seat Adjuster Switch - Passenger, Lumbar Switch - Passenger (w/AL2)
SPARE Fuse - Not Used
SPARE Relay - Not Used
SPARE Fuse - Not Used
SPARE Fuse - Not Used
SPARE Fuse - Not Used
STNDBY LAMP RLY Micro (opt) - L POS LP Relay (Export) and R POS LP Relay (Export)
THEFT/SHIFTER Fuse 10A Automatic Transmission Shifter, Inclination Sensor/Theft Deterrent Alarm Siren/Intrusion Sensor (w/UA2)
TRUNK DR REL RELAY Micro - Not Used
TRUNK DR/VALET Fuse 7.5A Trunk Door Release Relay
TV/VICS Fuse 10A Traffic Information Receiver (VICS) Module (w/YQ7), TV Antenna Module (w/YQ6/YQ7)
Fig 2: Left Side of the I/P Carrier Component View
GM1530208Courtesy of GENERAL MOTORS CORP.
Callout Component Name
1 I/P Carrier
2 I/P Side Panel - Left
3 Data Link Connector (DLC)
4 Courtesy Lamp - Left Footwell
5 Steering Column Fuse Box or Holder