LEMON Manuals: Even more car manuals for everyone: 1960-2025
Home >> Cadillac >> 2007 >> STS V >> Repair and Diagnosis >> External Pages >> Different car >> Section 161 (Antilock Brake System, Traction Control System & Stability Control System) >> Component Locator >> Antilock Brake System Component Views
April 5, 2026: LEMON Manuals is launched! Read the announcement.

Antilock Brake System Component Views

WARNING: This page is about a different car, the 2007 Cadillac CTS. However, it is still accessible from the selected car via links, so may be relevant.
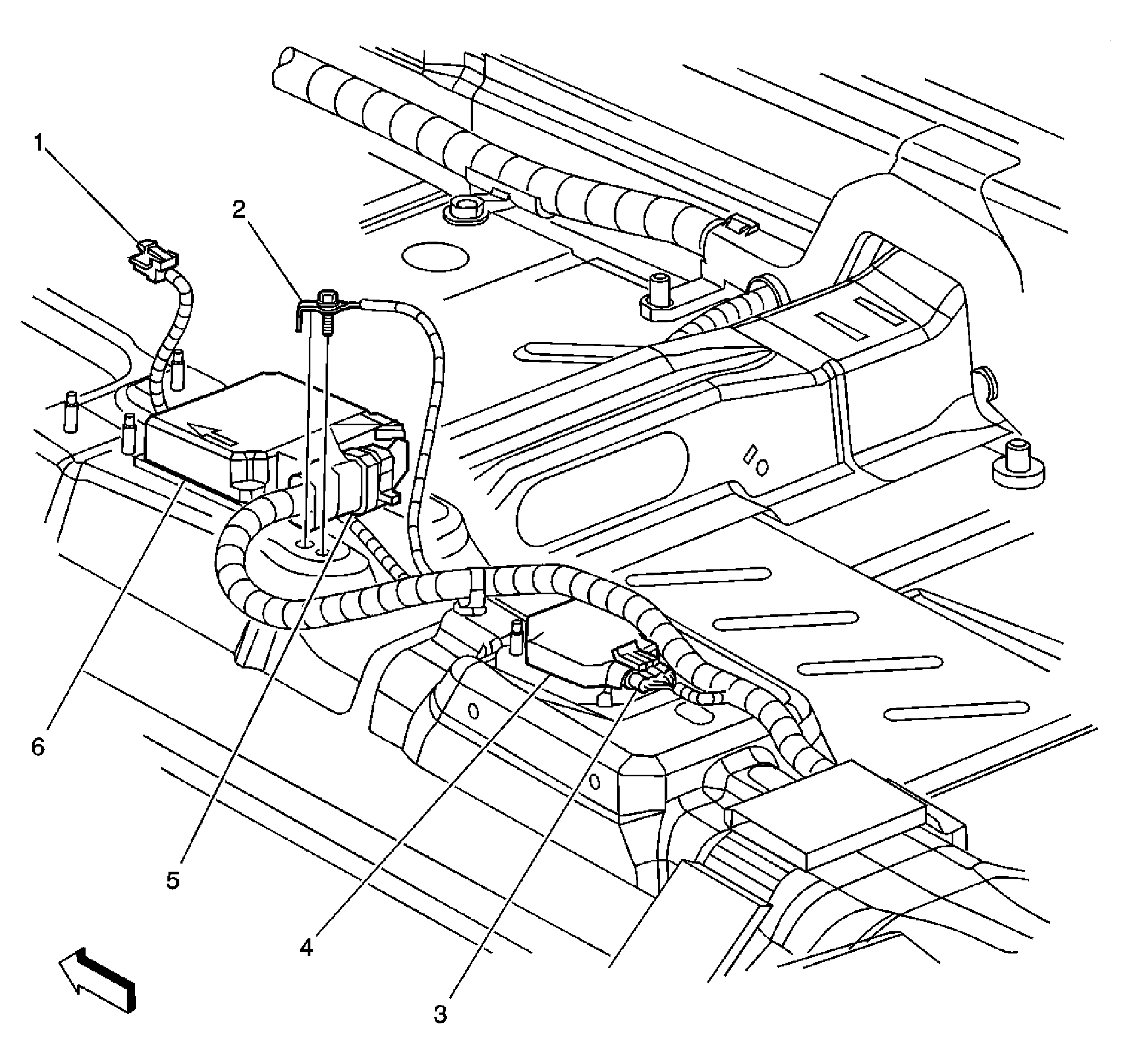
Fig 1: EBCM and Wheel Speed Sensors
GM1372939Courtesy of GENERAL MOTORS CORP.
Callout Component Name
1 Electronic Brake Control Module (EBCM)
2 Brake Fluid Pressure Sensor
3 Brake Fluid Pressure Sensor Connector
4 Wheel Speed Sensor (WSS) - LR (RR Similar)
5 Wheel Speed Sensor (WSS) Connector - LR (RR Similar)
6 Parking Brake Cable
7 Brake Rotor - LR (RR Similar)
8 Wheel Speed Sensor (WSS) Connector - LF (RF Similar)
9 Wheel Speed Sensor (WSS) - LF (RF Similar)
10 Brake Rotor - LF (RF Similar)
11 Electronic Brake Control Module (EBCM)
12 EBCM Connector Lock
13 EBCM Connector
14 EBCM Connector Position Assurance Retainer
Fig 2: Traction Control Switch
GM1348868Courtesy of GENERAL MOTORS CORP.
Callout Component Name
1 Traction Control Switch Connector
2 Traction Control Switch
3 Glove Box
Fig 3: Passenger Compartment - Under Center Console
GM1368986Courtesy of GENERAL MOTORS CORP.
Callout Component Name
1 Shift Control Assembly Connector
2 Body Harness Ground G306
3 Yaw Rate and Lateral Acceleration Sensor Connector
4 Yaw Rate and Lateral Acceleration Sensor
5 Inflatable Restraint Sensing and Diagnostic Module (SDM) Connector
6 Inflatable Restraint Sensing and Diagnostic Module (SDM)