LEMON Manuals: Even more car manuals for everyone: 1960-2025
Home >> Cadillac >> 2007 >> XLR Base >> Repair and Diagnosis (Single Page) >> Accessories & Equipment >> Anti-Theft Systems >> Keyless Entry System And Remote Functions >> Component Locator >> Remote Function Connector End Views >> Keyless Entry Antenna - Right
April 5, 2026: LEMON Manuals is launched! Read the announcement.

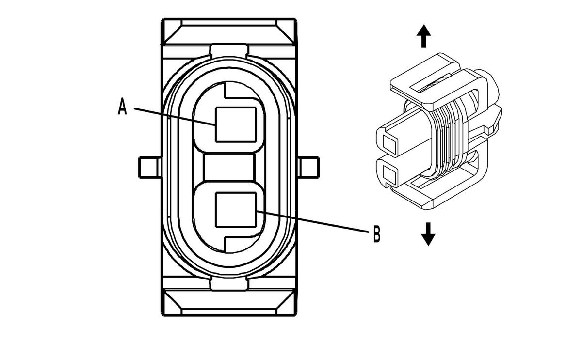
Keyless Entry Antenna - Right

Fig 1: Keyless Entry Antenna - Right Connector End View
GM684852Courtesy of GENERAL MOTORS CORP.
Keyless Entry Antenna - Right Connector Parts Information

Connector Part Information 
  • OEM: 12162017
  • Service: 12101937
  • Description: 2-Way F Metri-Pack 150 Series (GY)
Terminal Part Information 
  • Terminal/Tray: 12048074/2
  • Core/Insulation Crimp: E/1
  • Release Tool/Test Probe: 12094429/J-35616-2A (GY)
Keyless Entry Antenna - Right Connector Terminal Identification

Pin Wire Color Circuit No. Function
A L-GN 5707 Keyless Entry Antenna - Right Signal
B L-GN/BK 5711 Keyless Entry Antenna - Right Low Reference