LEMON Manuals: Even more car manuals for everyone: 1960-2025
Home >> Cadillac >> 2007 >> XLR Base >> Repair and Diagnosis (Single Page) >> Accessories & Equipment >> Collision/Avoidance >> Object Detection System >> Component Locator >> Object Detection Connector End Views >> Object Sensor - RR Middle
April 5, 2026: LEMON Manuals is launched! Read the announcement.

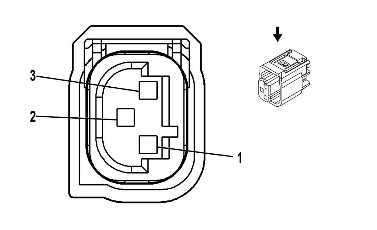
Object Sensor - RR Middle

Fig 1: Object Sensor - RR Middle Connector End View
GM655785Courtesy of GENERAL MOTORS CORP.
Object Sensor - RR Middle Connector Parts Information

Connector Part Information 
  • OEM: 15324398
  • Service: 15306313
  • Description: 3-Way F MQS Sealed (BK)
Terminal Part Information 
  • Terminal/Tray: 962885-5/15
  • Core/Insulation Crimp: 6/6
  • Release Tool/Test Probe: 12094429/J-35616-64B (L-BU)
Object Sensor - RR Middle Connector Terminal Identification

Pin Wire Color Circuit No. Function
1 D-GN 2377 RR Middle Object Sensor Signal
2 GY 2379 Object Sensor Low Reference
3 D-BU 2374 Object Sensor Supply Voltage