LEMON Manuals: Even more car manuals for everyone: 1960-2025
Home >> Cadillac >> 2007 >> XLR Base >> Repair and Diagnosis (Single Page) >> Accessories & Equipment >> Communication Devices >> Data Communication System >> Component Locator >> Data Communication Connector End Views >> Body Control Module (BCM) C1
April 5, 2026: LEMON Manuals is launched! Read the announcement.

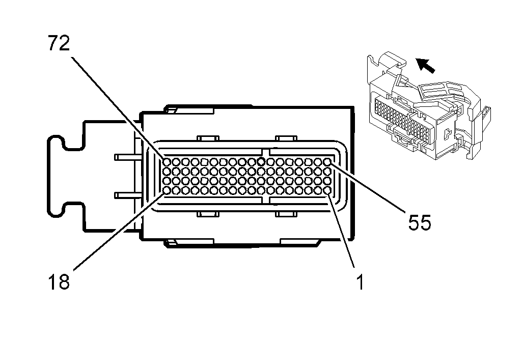
Body Control Module (BCM) C1

Fig 1: Body Control Module (BCM) C1 Connector End View
GM1376257Courtesy of GENERAL MOTORS CORP.
Body Control Module (BCM) C1 Connector Parts Information

Connector Part Information 
  • OEM: 15393122
  • Service: 88987847
  • Description: 72-Way F Micro-64 Unsealed (GY)
Terminal Part Information 
  • Pins: 2, 4, 7, 12, 13, 14, 15, 16, 17, 18, 19, 22, 29, 35, 38, 42, 44, 47, 49, 51, 53, 55, 56, 57, 58, 60, 62, 63, 64, 65, 66, 68, 69, 71
  • Terminal/Tray: 15359541/4
  • Core/Insulation Crimp: M/M
  • Release Tool/Test Probe: 15381651-2/J-35616-64B (L-BU)
Body Control Module (BCM) C1 Connector Terminal Identification

Pin Wire Color Circuit No. Function
1 - - Not Used
2 YE 5058 Intrusion Sensor Armed Signal (Export)
3 - - Not Used
4 D-GN 5525 Tap Up/Tap Down Enable Signal
5-6 - - Not Used
7 L-GN 5724 Ignition Mode Switch Mode Control
8-11 - - Not Used
12 BK/WH 851 Signal Ground
13 TN 28 Horn Relay Control
14 D-BU 5719 Ignition Mode Switch Start LED Signal
15 WH 5741 Steering Column Lock Module Lock Enable Relay Control (Export)
16 L-BU 1344 Trunk Release Control Signal
17 L-BU 187 Rear Fog Lamp Switch Signal (Export)
18 OG/BK 744 Trunk Ajar Switch Signal
19 D-GN/WH 1317 Fog Lamp Relay Control
20-21 - - Not Used
22 YE 43 Accessory Voltage
23-28 - - Not Used
29 TN/WH 1969 Headlamp High Beam Relay Control
30-34 - - Not Used
35 TN 305 Trunk Key Switch Signal
36-37 - - Not Used
38 L-BU/WH 1314 Left Front Turn Signal Lamp Supply Voltage
39-41 - - Not Used
42 L-GN/BK 1605 Park Brake Relay Control 1
43 - - Not Used
44 TN 126 Left Front Door Open Switch Signal
45-46 - - Not Used
47 PU 5357 Right Park Lamp Outage Detection Signal
48 - - Not Used
49 PU 5059 Intrusion Sensor Alarm On Signal (Export)
50 - - Not Used
51 GY/BK 745 Left Front Door Ajar Switch Signal
52 - - Not Used
53 TN/WH 746 Right Front Door Ajar Switch Signal
54 - - Not Used
55 L-GN 1037 BCM Class 2 Serial Data
56 D-BU/WH 1315 Right Front Turn Signal Lamp Supply Voltage
57 WH 2282 Headlamp Washer Relay Control
58 D-GN 1399 RAP Relay Coil Supply Voltage
59 - - Not Used
60 L-GN 1845 Chime Control
61 PK 94 Windshield Washer Switch Signal
62 YE 5356 Left Park Lamp Outage Detection Signal
63 L-GN 1177 Right Front Door Open Switch Signal
64 GY 91 Windshield Wiper Motor Relay Coil Supply Voltage
65 WH 1080 Park Lamp Relay Control
66 L-GN/WH 5723 Ignition Mode Switch Mode Voltage
67 - - Not Used
68 TN/BK 5168 Power Sounder Enable Signal (Export)
69 PK/BK 109 Hood Ajar Switch Signal (Export)
70 - - Not Used
71 BN/WH 2091 Trunk Release Switch Supply Voltage
72 - - Not Used