LEMON Manuals: Even more car manuals for everyone: 1960-2025
Home >> Cadillac >> 2007 >> XLR Base >> Repair and Diagnosis (Single Page) >> Brakes >> Antilock Brake System, Traction Control System & Stability Control System >> Component Locator >> Antilock Brake System Component Views
April 5, 2026: LEMON Manuals is launched! Read the announcement.

Antilock Brake System Component Views

Fig 1: Identifying Instrument Panel And Passenger Compartment Components
GM1252421Courtesy of GENERAL MOTORS CORP.
Callout Component Name
1 Dimmer/Head Up Display (HUD) Switch
2 Turn Signal/Multifunction Switch
3 Inflatable Restraint Steering Wheel Module
4 Instrument Panel Cluster (IPC)
5 Air Temperature Sensor - Inside
6 Windshield Wiper/Washer Switch
7 Driver Information Center (DIC) Switch
8 Hazard Switch
9 CD Changer
10 Valet Switch
11 Inflatable Restraint I/P Module
12 Inflatable Restraint I/P Module Disable Switch
13 I/P Compartment Lamp
14 Radio
15 HVAC Control Module
16 Cigar Lighter
17 Courtesy Lamp Switch - Console
18 Folding Top Switch
19 Inflatable Restraint I/P Module Disable Switch LED
20 Traction Control Switch
21 Auxiliary Power Outlet
22 Courtesy Lamp - Console
23 Automatic Transmission Shift Lever
24 Ignition Mode Switch
25 Steering Wheel Controls - Right
26 Horn Switch
27 Data Link Connector (DLC)
28 Steering Wheel Controls - Left
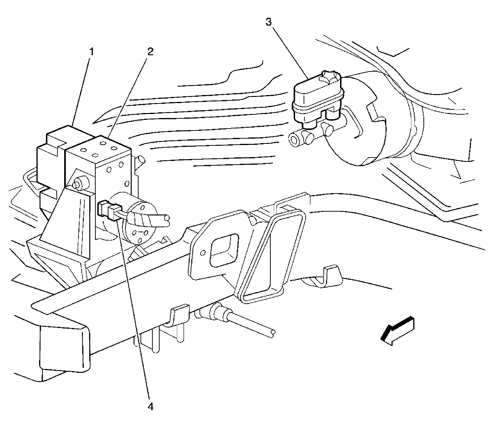
Fig 2: LF of the Engine Compartment Component View
GM1261626Courtesy of GENERAL MOTORS CORP.
Callout Component Name
1 Electronic Brake Control Module (EBCM)
2 Brake Pressure Modulator Valve (BPMV)
3 Brake Fluid Level Switch
4 Brake Fluid Pressure Sensor
Fig 3: Wheel Speed Sensor Component View
GM1358081Courtesy of GENERAL MOTORS CORP.
Callout Component Name
1 Wheel Speed Sensor (WSS) - LF
2 Wheel Speed Sensor (WSS) - LR
3 Wheel Speed Sensor (WSS) - RR
4 Wheel Speed Sensor (WSS) - RF
Fig 4: Behind the Center of the I/P Component View
GM1358215Courtesy of GENERAL MOTORS CORP.
Callout Component Name
1 Inflatable Restraint Sensing and Diagnostic Module (SDM)
2 Yaw and Lateral Accelerometer Sensor