LEMON Manuals: Even more car manuals for everyone: 1960-2025
Home >> Cadillac >> 2007 >> XLR Base >> Repair and Diagnosis (Single Page) >> Quick Lookups >> Wiring Diagrams >> OEM Connector End Views (1 Of 5) >> Engine Control Module Connector End Views - 4.4L >> Engine Control Module (ECM) Connector End View - C1
April 5, 2026: LEMON Manuals is launched! Read the announcement.

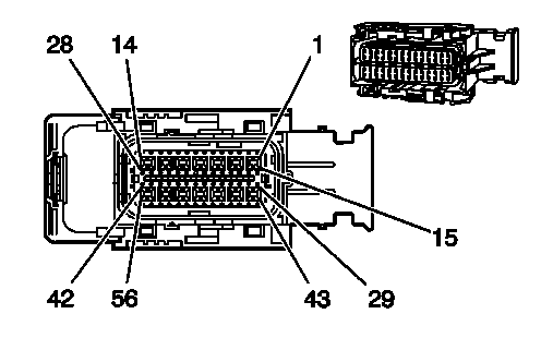
Engine Control Module (ECM) Connector End View - C1

Fig 1: Engine Control Module (ECM) - C1 Connector End View
GM1673474Courtesy of GENERAL MOTORS CORP.
Engine Control Module (ECM) - C1 Connector Parts Information

Connector Part Information 
  • OEM: 15499497
  • Service: See Catalog
  • Description: 56-Way F MA123 Series, Sealed (BU)
Terminal Part Information 
  • Terminal/Tray: See Terminal Repair Kit
  • Core/Insulation Crimp: See Terminal Repair Kit
  • Release Tool/Test Probe: See Terminal Repair Kit
Engine Control Module (ECM) - C1 Connector Terminal Identification

Pin Wire Color Circuit No. Function
1-6 - - Not Used
7 WH 17 Stop Lamp Switch Signal
8 - - Not Used
9 TN 808 Low Reference
10-11 - - Not Used
12 BN/WH 419 MIL Control
13 D-GN/WH 465 Fuel Pump Relay Control
14-17 - - Not Used
18 YE 43 Accessory Voltage
19 PK 1439 Ignition 1 Voltage
20 RD/WH 2440 Battery Positive Voltage
21-24 - - Not Used
25 WH 121 Engine Speed Signal
26-32 - - Not Used
33 WH/BK 1164 5-Volt Reference - 2
34 GY 2709 5-Volt Reference - 1
35 TN 1274 5-Volt Reference - 1
36 BN 1271 Low Reference
37 PU 1272 Low Reference
38 - - Not Used
39 D-GN/WH 817 Vehicle Speed Signal
40 WH/BK 448 Ignition 1 Relay Control
41-43 - - Not Used
44 D-BU 1936 Fuel Level Sensor - Primary
45 L-BU 1937 Fuel Level Sensor - Secondary
46 BN 7123 SCIAP Sensor Signal
47 D-BU 1161 APP Sensor 1 Signal
48 D-GN 890 Fuel Tank Pressure Sensor Signal
49 L-BU 1162 APP Sensor 2 Signal
50-52 - - Not Used
53 D-GN/WH 459 A/C Compressor Clutch Relay Control
54 - - Not Used
55 WH 1310 EVAP Canister Vent Solenoid Control
56 YE/BK 625 Starter Enable Relay Control