LEMON Manuals: Even more car manuals for everyone: 1960-2025
Home >> Cadillac >> 2007 >> XLR V8-4.6L >> Repair and Diagnosis >> Powertrain Management >> Computers and Control Systems >> Relays and Modules - Computers and Control Systems >> Engine Control Module >> Diagrams >> Connector Views
April 5, 2026: LEMON Manuals is launched! Read the announcement.

Connector Views



Engine Control Module Connector End Views

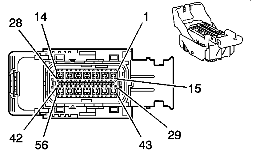
Engine Control Module (ECM) - C1







Engine Control Module (ECM) - C1 (Pin 1 To 33):




Engine Control Module (ECM) - C1 (Pin 34 To 56):






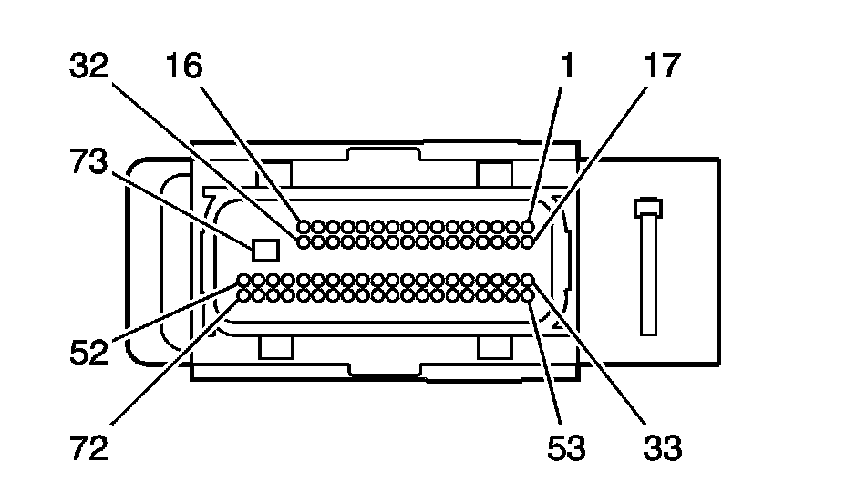
Engine Control Module (ECM) - C2







Engine Control Module (ECM) - C2 (Pin 1 To 11):




Engine Control Module (ECM) - C2 (Pin 12 To 58):




Engine Control Module (ECM) - C2 (Pin 59 To 73):






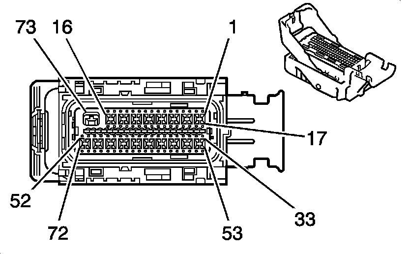
Engine Control Module (ECM) - C3







Engine Control Module (ECM) - C3 (Pin 1 To 20):




Engine Control Module (ECM) - C3 (Pin 21 To 73):